EasyManua.ls Logo

Craftmade SON52CH - Funcionamiento del Control Remoto; de Pared. Pág; Verificación del Funcionamiento del

Craftmade SON52CH
36 pages
Print Icon
To Next Page IconTo Next Page
To Next Page IconTo Next Page
To Previous Page IconTo Previous Page
To Previous Page IconTo Previous Page
Loading...
página 10
Se le recomienda poner el ventilador a prueba antes de terminar la instalación. Regresar
la corriente de electricidad en el cortacircuitos y el interruptor de pared (si se aplica).
Poner a prueba el control de pared (instalación opcional) localizando el interruptor
corredero de APAGADO y ENCENDIDO en el control de pared, luego ponerlo en posición
de ENCENDIDO (ON). Poner a prueba la luz y la función del reductor de luz y después las
velocidades del ventilador. Luego, localizar el control remoto de mano. Verificar las
velocidades del ventilador con los diferentes botones de velocidad
(I - VI)
en el control
remoto de mano. Poner a prueba la función de luz de APAGADO y ENCENDIDO con el
botón ; poner a prueba el funcionamiento del reductor de luz oprimiendo el botón
por más de 1 segundo. Si el control de pared/control remoto de mano maneja todas las
funciones de ventilador, se ha instalado bien la batería. Si el control de pared y/o el
control remoto de mano no controla(n) todas las funciones del ventilador, favor de
referirse a la sección "Localización de fallas" para resolver cualquier asunto antes de
comunicarse con el Servicio al cliente.
Hay que poner el ventilador en posición BAJA antes de poner el ventilador en reversa. Usar
el botón para que circule bien el aire dependiendo de las estaciones del año. Un
ventilador de techo le permitirá subir el termostato en verano y bajarlo en invierno sin
notar una diferencia en su comodidad.
NOTA: Si el control de pared/control remoto de mano interfiere con otros aparatos, activar
un código nuevo en el control de pared/control remoto de mano
cortando la corriente
primero
. Repetir las instrucciones que se refieren al botón “SET” de la sección 11 (página 9).
IMPORTANTE: Hay que sincronizar el control remoto de mano y el control de pared con el
ventilador para que funcionen correctamente.
control remoto de mano
control de pared
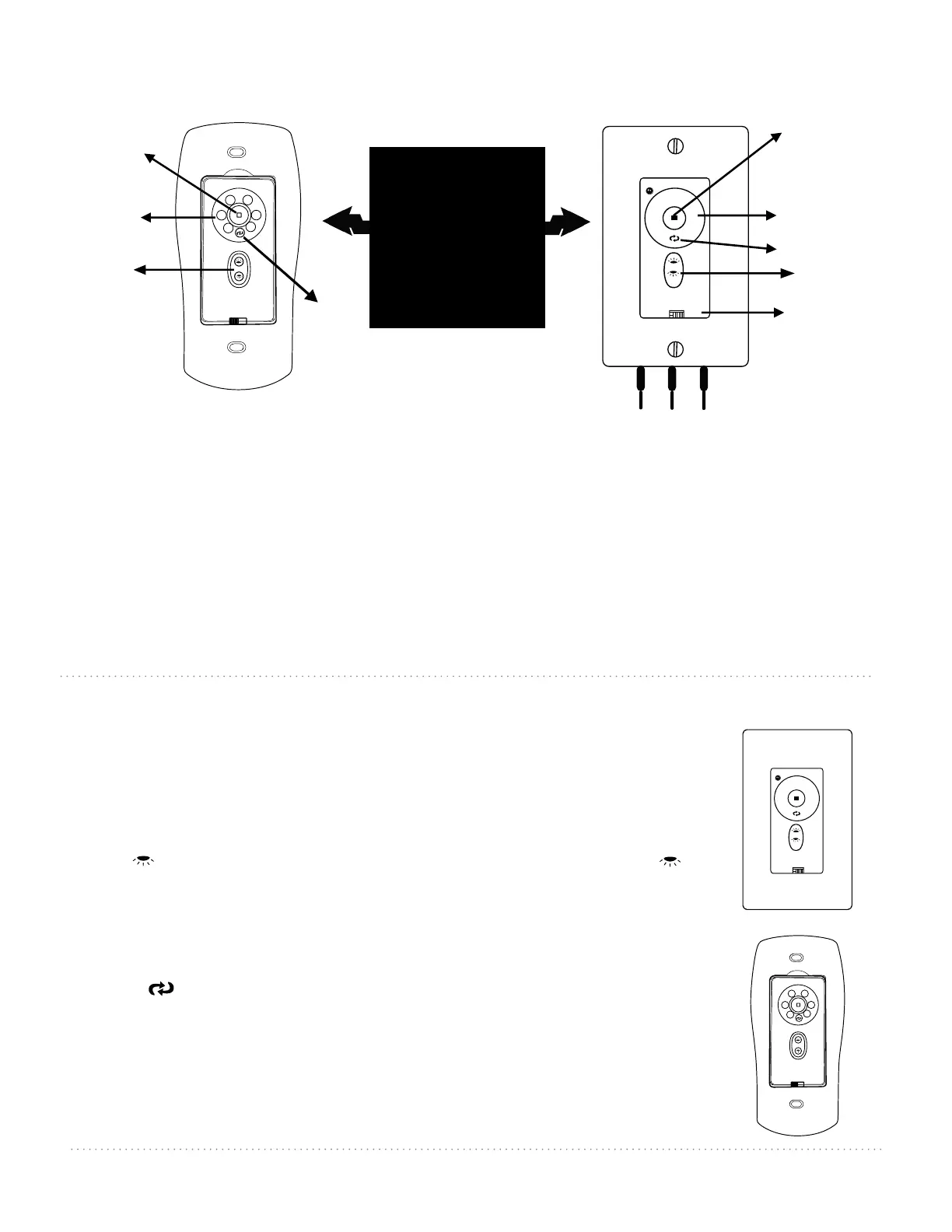
Botones de VELOCIDAD del ventilador--1: usar para controlar la velocidad del ventilador de 1- 6
Botón de APAGADO--2: usar para apagar el ventilador
Botón de REVERSA--3: usar para controlar la dirección del ventilador
Botón de ILUMINACION--4: usar para controlar la luz superior o la luz inferior (si se aplica)
Interruptor corredero ON/OFF--5: [control de pared solamente] Usar para PRENDER o APAGAR
el control de pared
12. Funcionamiento del control remoto/de pared.
13. Verificación del funcionamiento del ventilador.
4
3
1
5
I
OFF ON
II
III
IV
V
VI
2
I
II
IV
VI
III
V
4
1
2
3
IMPORTANTE: Hay
que SINCRONIZAR el
control remoto de
mano y el control
de pared con el
ventilador para que
funcionen
correctamente.
I
II
IV
VI
III
V
I
OFF ON
II
III
IV
V
VI
IMPORTANTE: El Proceso de aprendizaje automático tardará 5 minutos en completarse. Por favor dejar
el ventilador “ENCENDIDO durante estos 5 minutos que demora la programación y NO
proceder a usar el control remoto ni a cortar el suministro de fuerza eléctrica durante
este tiempo.
El ventilador entrará en un ciclo de marcha de avance y marcha atrás, pasando por LAS
SEIS (6) velocidades, y luego se detendrá automáticamente después de haberse
terminado el proceso de aprendizaje.