EasyManua.ls Logo

Crivit 271503 - Technische Daten

Crivit 271503
Print Icon
To Next Page IconTo Next Page
To Next Page IconTo Next Page
To Previous Page IconTo Previous Page
To Previous Page IconTo Previous Page
Loading...
17DE/AT/CH
Herzlichen Glückwunsch!
Mit Ihrem Kauf haben Sie sich für ein hochwertiges Produkt ent-
schieden. Machen Sie sich vor der ersten Verwendung mit dem Produkt
vertraut. Lesen Sie hierzu aufmerksam die nachfolgende Gebrauchs-
anweisung. Benutzen Sie das Produkt nur wie beschrieben und für die
angegebenen Einsatzbereiche. Bewahren Sie diese Anweisung gut auf.
Händigen Sie alle Unterlagen bei Weitergabe des Produkts an Dritte
ebenfalls mit aus.
Verwendung/Einsatzgebiet
Dieser Trekkingstock ist mit einer Hartmetallspitze für das Wandern
im Gelände, auf Eis oder anderen glatten Oberflächen vorgesehen.
Er verfügt außerdem über ein Asphalt-Pad, das leicht aufgesteckt und
abgenommen werden kann, wenn Sie auf Asphalt oder anderem harten
Untergrund wandern.
Der Trekkingstock ist ausschließlich zum Wandern vorgesehen.
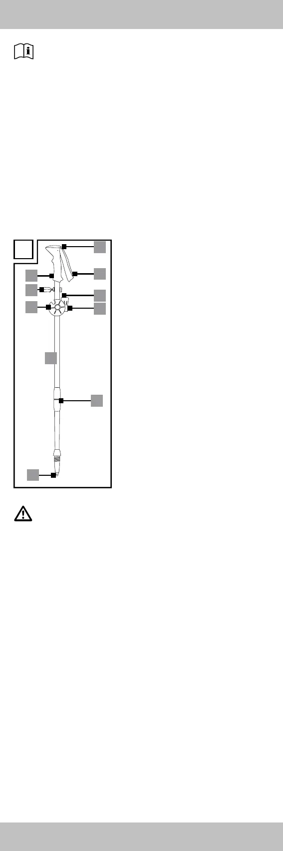
Teileliste
A
7
2
8
6
10
9
4
3
1
5
(1) Schlaufen-Verstellsystem
(2) Handschlaufe
(3) Asphaltpad
(4) Kombinationshalterung
(5) Höhen-Verstellsystem
(6) Hohlschliffspitze
(7) Trekkingstock
(8) Teller
(9) Spange zum Zusammenfügen der
Stöcke
(10) Ergonomisch geformter Griff
Technische Daten
Länge: verstellbar 66 - 135 cm
Gewicht: ein Trekkingstock
ca. 255 g (EVA-Griff) /
ca. 278 g (Korkgriff)
Maximale Belastung: 140 kg
Material: Aluminium
Sicherheitshinweise
Keine Reparaturen durchführen, die die Sicherheit gefährden!
Es wird empfohlen, einen Herzfrequenzmesser zu verwenden.
Falls bei den Benutzern Herz-Kreislauf-Probleme bekannt sind, sollte vor
Durchführung der Sportart ein Arzt befragt werden.
Sportschuhe mit gutem Profil und seitlichem Halt verwenden.
Die Ausübung des Sports bei Dunkelheit meiden bzw. bei Dämmerung
Reflektoren verwenden, die am Körper getragen werden.
Überprüfen Sie vor jeder Benutzung die Verschraubung der
Trekkingstöcke.
Überprüfen Sie vor jeder Benutzung, ob sich Beschädigungen am
Stock befinden.
Sobald Sie einen Riss in den Stocksegmenten oder eine nicht einwand-
freie Funktion des Trekkingstocks feststellen, verwenden Sie diesen
nicht mehr und entsorgen Sie den Stock.
Meiden Sie, wenn möglich, öffentlichen Straßenverkehr, um das
Unfallrisiko zu minimieren.
Trekkingstöcke sind nicht zum alpinen Skilaufen geeignet.
Bitte kein Öl verwenden, da jedes Öl die Haltekraft des Verstell-
mechanismus negativ beeinflussen kann.
Bitte beachten Sie, dass die Spitzen der Trekkingstöcke Böden
beschädigen könnten.
Bitte setzen Sie sich nicht auf die Stöcke, da sie abknicken könnten.
Spitze Stöcke sind grundsätzlich gefährlich für Kinder!
Das Gerät ist nur für den privaten Gebrauch bestimmt.
Für die professionelle Nutzung besteht keine Garantie.
Kontrollieren Sie auch während der Benutzung regelmäßig das
Verschlusssystem.

Related product manuals