EasyManua.ls Logo

CROSSRC PG4L - Page 31

CROSSRC PG4L
39 pages
Print Icon
To Next Page IconTo Next Page
To Next Page IconTo Next Page
To Previous Page IconTo Previous Page
To Previous Page IconTo Previous Page
Loading...
43
44
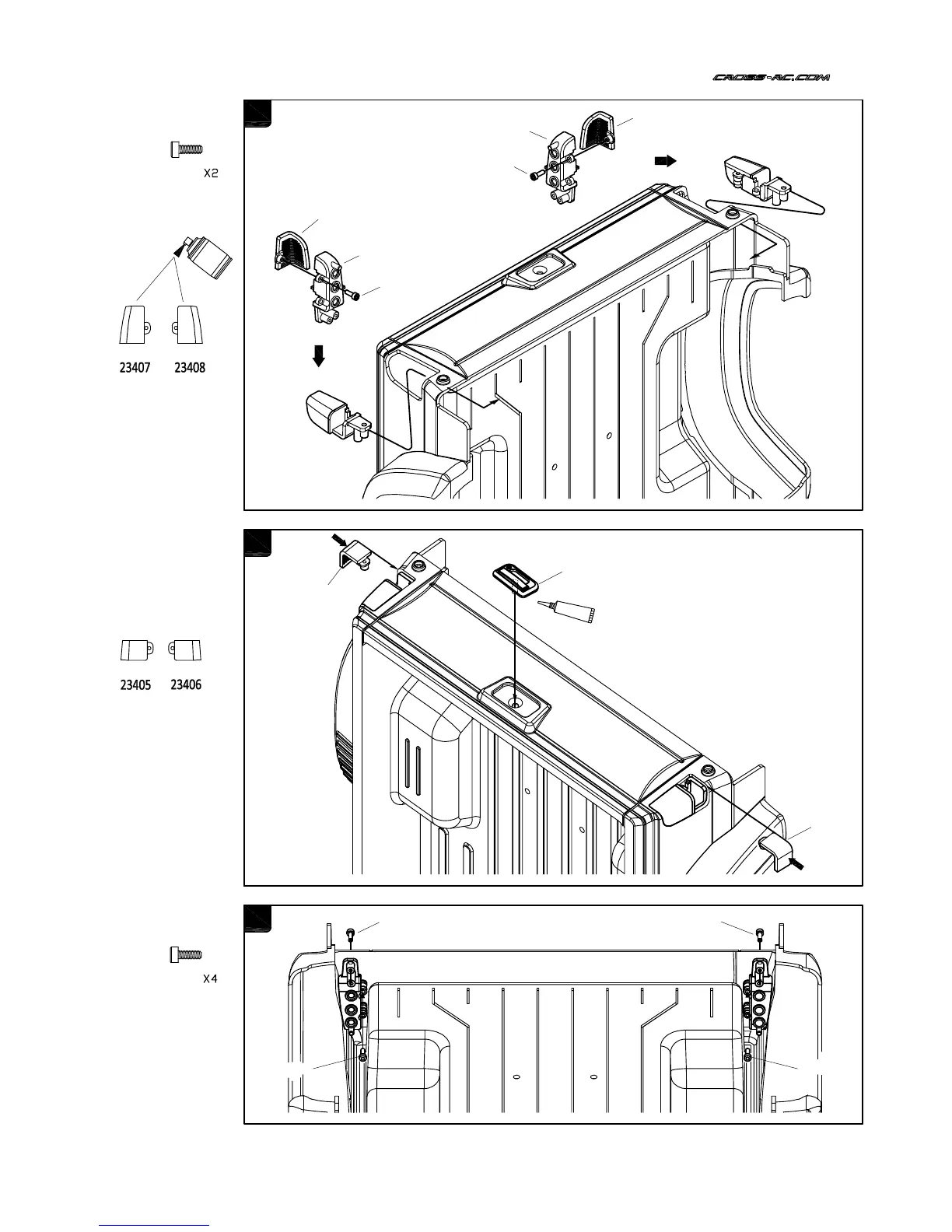
M2x6
11102
M2x6
11102
30
PAINT
11102
11102
23407
23408
23007
23008
23406
23405
11102 11102
11102 11102
45
23012
GLUE

Related product manuals