EasyManua.ls Logo

Cub Cadet 2000 series - TRACTOR OPERATING CONTROLS

Cub Cadet 2000 series
60 pages
Print Icon
To Next Page IconTo Next Page
To Next Page IconTo Next Page
To Previous Page IconTo Previous Page
To Previous Page IconTo Previous Page
Loading...
10
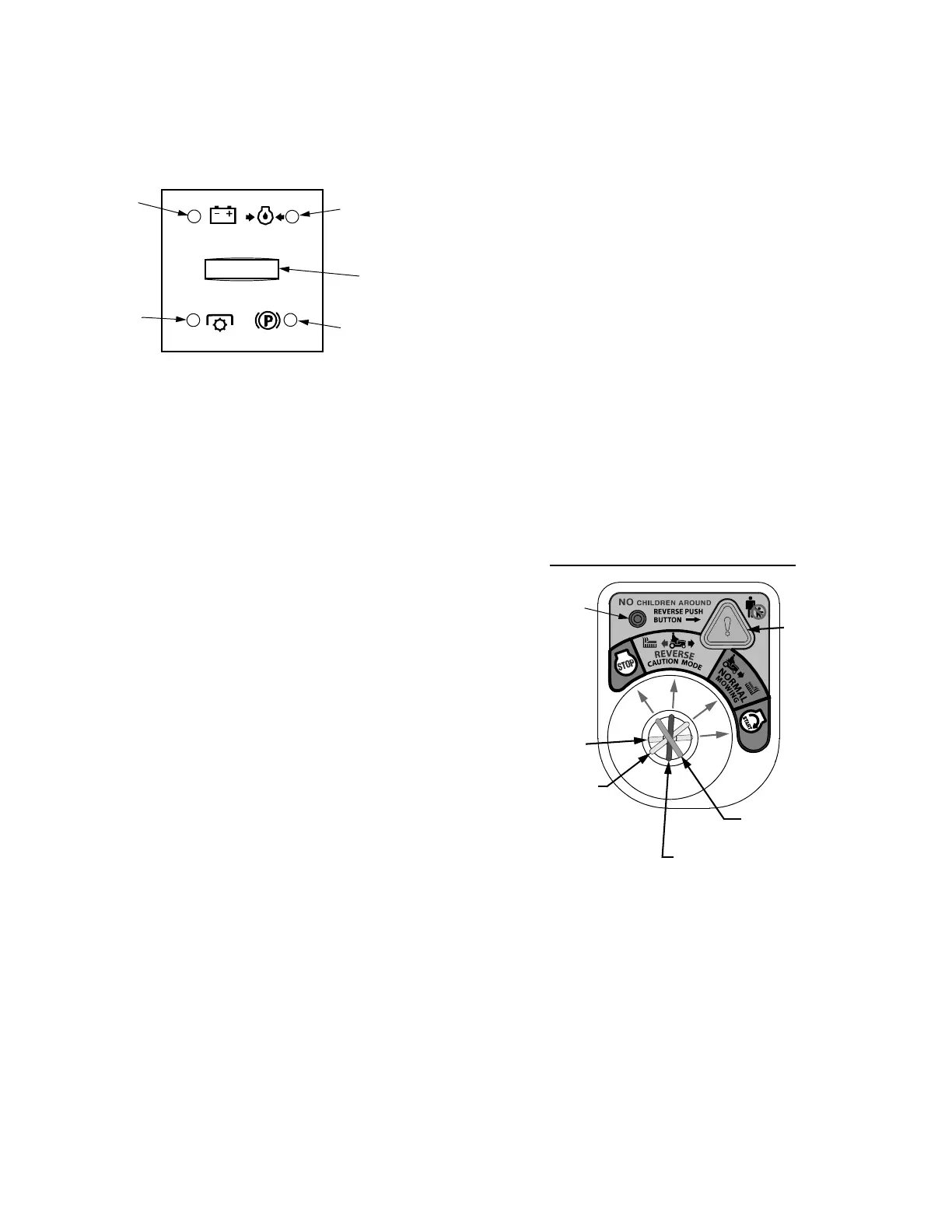
A. INDICATOR PANEL/HOUR METER
The hour meter/indicator uses indicator lights to dis-
play the status of various functions of the tractor and
also records the accumulated hours of operation.
Figure 4
Indicator Panel Features
Battery Indicator (Refer to Figure 4)
Illuminates and the battery voltage is displayed
briefly when the ignition switch it turned to an on
position.
Illuminates to indicate the battery voltage has
dropped below 11.5 (+0.5/-1.0) DC volts. The bat-
tery voltage is also displayed on the hour meter.
If this indicator and display come on during oper-
ation, check the battery and charging system for
possible causes and/or contact your Cub Cadet
dealer.
Oil Pressure Indicator (Refer to Figure 4)
This warning lamp indicates low engine oil pres-
sure. If this indicator illuminates, stop the tractor
immediately and check the engine oil level. If the
oil level is within the operating range, but the light
remains on, contact your Cub Cadet dealer.
NOTE: The oil pressure indicator may illuminate
when the key switch is turned to an on position,
but should turn off when the engine is started.
PTO Engaged Indicator (Refer to Figure 4)
This indicator illuminates when the key switch is
turned to the "START" position while the PTO
switch is pulled upward in the "ENGAGED"
position. Check this indicator if the engine will not
crank with the key switch in the "START" position.
If necessary, move the PTO switch to the
"DISENGAGED" position.
Brake Engaged Indicator (Refer to Figure 4)
This indicator illuminates when the key switch is
turned to the "START" position and the brake
pedal is not fully depressed. Check this indicator
if the engine will not crank with the key switch in
the "START" position. If necessary, fully depress
the brake pedal.
B. HOUR METER/BATTERY DISPLAY
The hour meter shows the hours (tenths of an hour-
right most digit) that the tractor has been operated.
The hour meter is activated when the key switch
is turned to either the “NORMAL MOWING” or the
"REVERSE CAUTION MODE" switch positions. A
record of the actual hours of operation should be
kept to assure maintenance procedures are com-
pleted according to the schedule in this manual.
When the key switch is turned to an on position,
the battery indicator light briefly illuminates and
the battery voltage is briefly displayed. The dis-
play then changes to the accumulated hours.
C. POWER TAKE–OFF (PTO) CONTROL SWITCH
The power take-off (PTO) switch operates the front
electric PTO clutch. Pull the switch knob upward to en-
gage, or push downward to disengage the PTO clutch.
D. KEY SWITCH MODULE
The key switch module consist of a four position key
switch, the “Reverse Push Button”, and a red indica-
tor light. See Figure 5.
Figure 5
The four key positions of key switch module (Refer to
Figure 5) and their functions are as follows:
STOP — Stops the tractor engine and shuts
down the tractor’s electrical circuits.
REVERSE CAUTION MODE — This position
allows the machine to be operated in reverse with
the blades (PTO) engaged.
NORMAL MOWING — The normal operating
position. All safety interlock circuits are activated
and the blades (PTO) will disengage when the
tractor is driven in the reverse direction.
Battery
Oil
PTO
Parking Brake
Engaged
Engaged
Pressure
Indicator
Hour
Meter
Indicator
Indicator
Indicator
REVERSE
PUSH
INDICATOR
LIGHT
BUTTON
KEY IN STOP
POSITION
KEY IN REVERSE
CAUTION MODE
KEY IN NORMAL
MOWING MODE
KEY IN START
POSITION
KEY SWITCH MODULE

Related product manuals