EasyManua.ls Logo

Cub Cadet 2146 - Page 19

Cub Cadet 2146
60 pages
Print Icon
To Next Page IconTo Next Page
To Next Page IconTo Next Page
To Previous Page IconTo Previous Page
To Previous Page IconTo Previous Page
Loading...
19
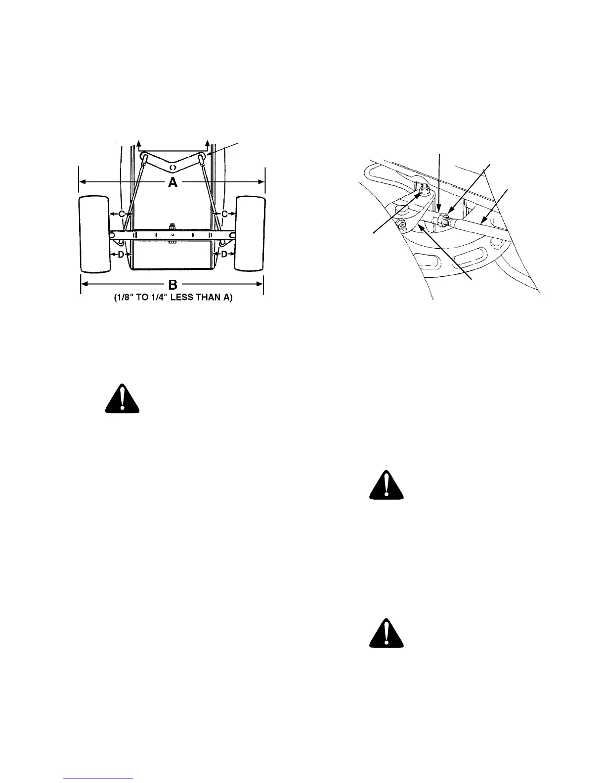
WHEEL ALIGNMENT
The front wheels should toe-in approximately 1/8 to
1/4 inch, as measured across dimensions A and B
shown in Figure 12.
Figure 12. Viewed from beneath the tractor.
FRONT WHEEL ADJUSTMENT
WARNING
Place the tractor on a firm and level surface.
To adjust the toe-in, proceed as follows:
1. Check the lower steering arm to ensure it is
perpendicular to the tractor frame (See Figure 12).
2. Place a mark at the same spot on both front
wheels; preferably the inner bead flange of the
wheel rims.
3. Rotate the wheels to position the marks at the front
horizontal diameter of the wheels, then measure
the distance between the marks and the bottom
edges of the tractor frame channels (See
measurement D in Figure 12). These two
measurements should be equal.
4. While holding the steering arms to prevent the
steering knuckles from moving, rotate the marks to
the rear horizontal diameter. Measure the distance
between the marks and the frame (See
measurement C in Figure 12). Measurement D
should be approximately 1/16 to 1/8 inch less than
measurement C on each side of the tractor.
5. Disconnect the front ball joints from the steering
arms by removing the hex lock nuts (Refer to
Figure 13). Manually move each wheel to achieve
the required toe-in and equal D measurements.
6. Loosen the jam nuts from the ball joints (See
Figure 13).
Figure 13
7. Making sure not to move the lower steering arm or
either wheel, turn the ball joint in or out on each tie
rod as necessary to align with the hole in each
steering arm.
8. Reinstall the ball joints in the steering arms and
secure with the hex lock nuts. Tighten the jam nuts
against the ball joints.
PIVOT BAR ADJUSTMENT
CAUTION
The tractor should be checked every 50 hours
of operation for play between the frame axle
channel and the pivot axle.
Check and adjust the pivot axle as follows:
1. Raise the front ot the tractor and set it on jack
stands, so the front wheels are suspended above
the ground.
CAUTION
For safety, block the rear wheels to prevent the
tractor from rolling and tipping or sliding the jack
stands.
PERPENDICULAR
TO FRAME
LOWER
STEERING
ARM
JAM NUT
STEERING
ARM
HEX
LOCK
NUT
BALL JOINT
TIE ROD

Other manuals for Cub Cadet 2146

Related product manuals