EasyManua.ls Logo

Cub Cadet 2146 - Page 54

Cub Cadet 2146
60 pages
Print Icon
To Next Page IconTo Next Page
To Next Page IconTo Next Page
To Previous Page IconTo Previous Page
To Previous Page IconTo Previous Page
Loading...
54
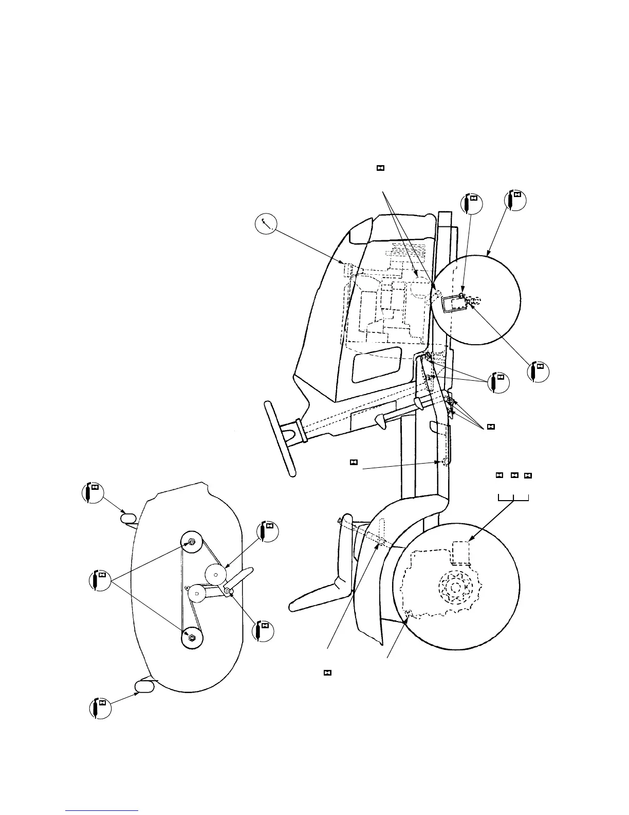
LUBRICATION GUIDE
10
10
30
10
10
30
10
10
100
10
LEFT SIDE
BOTH SIDES
BOTH SIDES
CHECK OIL
LEVEL BEFORE
EACH USE
CHECK OIL LEVEL
BEFORE EACH USE
10
50
100
50
50
— 5
— 10
— 9
— 3
— 15
— 6
— 2
— 6
— 8
— 12
— 12
— 7
— 6
— 14
— 11
— 4
1 —
50
— 13

Other manuals for Cub Cadet 2146

Related product manuals