EasyManua.ls Logo

Cub Cadet Yanmar Lx490 - Page 42

Cub Cadet Yanmar Lx490
230 pages
Print Icon
To Next Page IconTo Next Page
To Next Page IconTo Next Page
To Previous Page IconTo Previous Page
To Previous Page IconTo Previous Page
Loading...
Lx490Lx Series
42
Copyright 2011 Cub Cadet Yanmar LLC
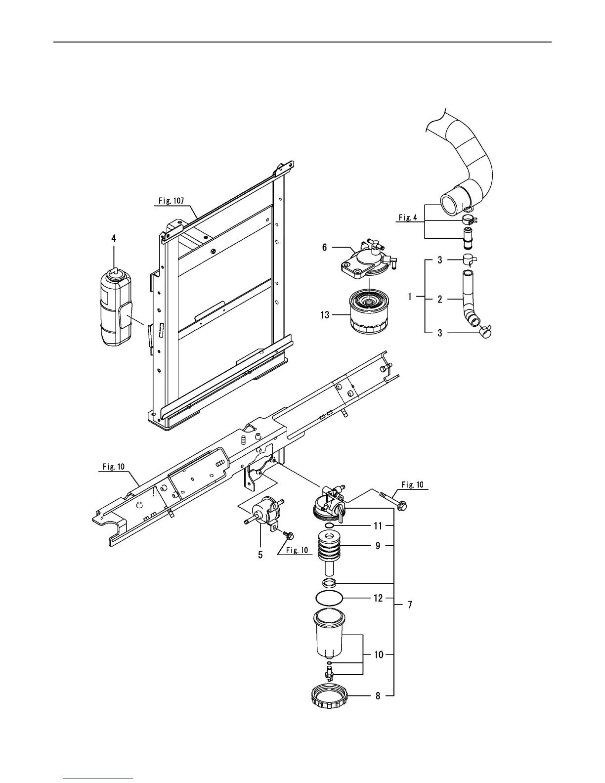
Fig 2. Engine Related Lx490
Fig.2. ENGINE RELATED
0CNP5-G37900
0CNP5-G37900
2. ENGINE RELATED
(F)=
(E)=
(D)=
(C)=LX490
(B)=LX450
(A)=LX410
LEV.REF. PARTS NO. DESCRIPTION
RI
Q'TY
(F)(D)(C)(B)(A) (E)
HOSE ASSY, BREATHER129509-0308011 1
HOSE, BREATHER129509-0309022 1
CLAMP 22129410-0399023 2
TANK ASSY, SUB129263-4451014 1
PUMP ASSY, FUEL FEED119225-5210215 1
BRACKET, FILTER129004-5561216 1
SEPARATOR ASSY119802-5570017 1
RING, RETAINING129100-5569028 1
ELEMENT119802-5571029 1
CUP ASSY119802-55730210 1
O-RING 1A P-16.024311-000160211 1
O-RING 1A G-65.024321-000650212 1
FILTER, FUEL119802-55801113 1
(C)Copy Rights YANMAR CO.,LTD.

Related product manuals