EasyManua.ls Logo

Currys Essentials CFSEWH12 - Controlling Your Hotplates; Using the Oven; First Time Use of the Oven

Currys Essentials CFSEWH12
20 pages
Print Icon
To Next Page IconTo Next Page
To Next Page IconTo Next Page
To Previous Page IconTo Previous Page
To Previous Page IconTo Previous Page
Loading...
7
Low cooking
temperatures
Normal cooking
temperatures
Frying
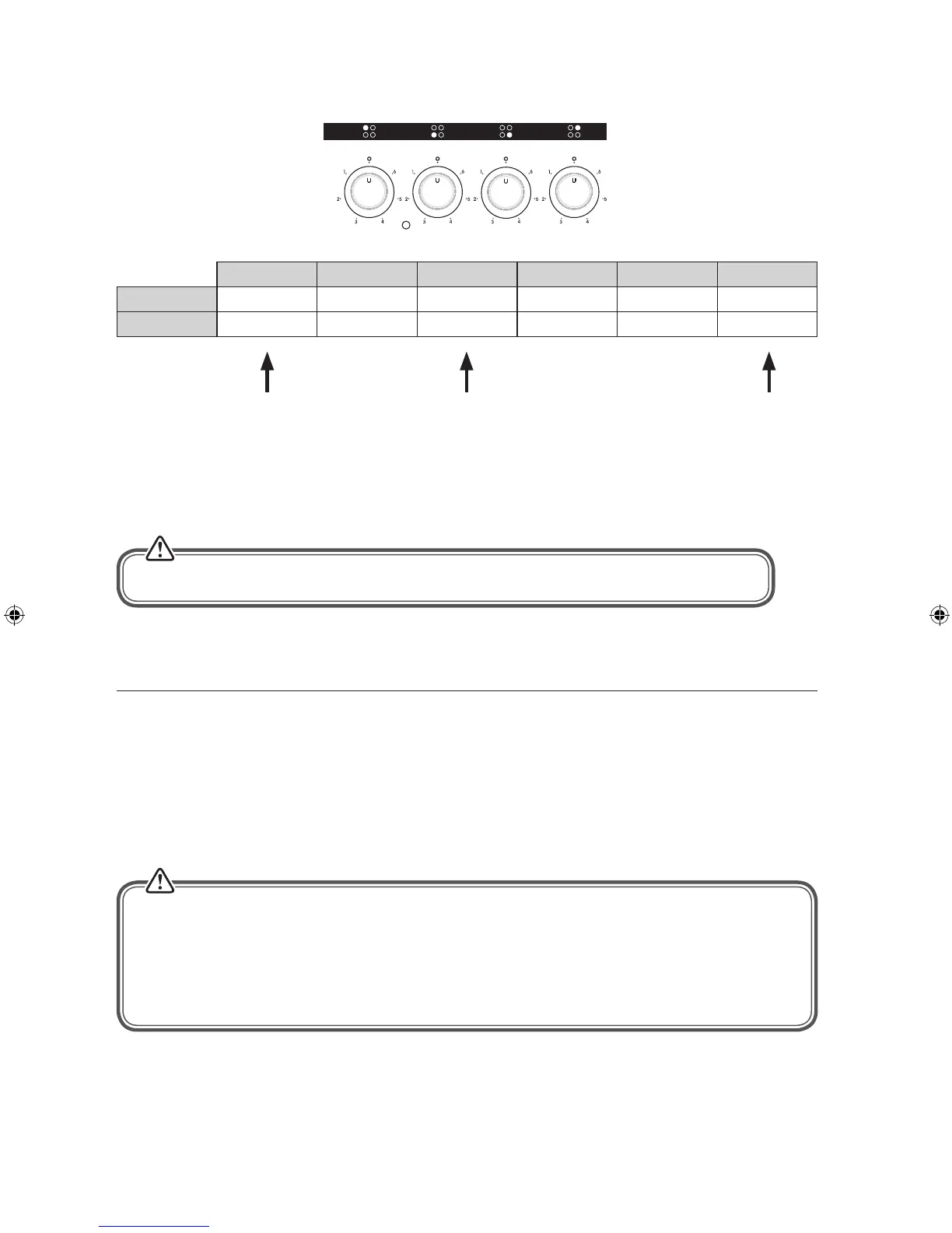
LEVEL 1 LEVEL 2 LEVEL 3 LEVEL 4 LEVEL 5 LEVEL 6
145 mm 100 W 165 W 250 W 500 W 750 W 1000 W
180 mm 135 W 220 W 300 W 850 W 1150 W 1500 W
2. When the hotplate warning lamp illuminates, this means that one or more of the hotplates are switched on.
3. When you are nished cooking rotate the control back to the “0” position, the hotplate warning lamp will
turn o.
The hotplates will remain hot for some time; do not touch until they have completely cooled down.
Controlling Your Hotplates
1. Rotate the control to the heat level you wish to use for the selected hotplate.
Using the Oven
First Time Use of the Oven
Ensure that nothing has been left in the oven. Remove any insert cards, packaging, labels or plastic bags and
the grill pan handle.. Before connecting the power, use a damp cloth to carefully wipe the inner cavity wall and
housing. Clean all the detachable parts in hot, soapy water before using.
Heat the oven on maximum for 45 minutes. There may be a little smoke and odour upon initial start up (for about
15 mins). This is normal. It is due to the protective substance on the heating elements which protects the cooker
from the eects of corrosion during shipping from the factory.
* All images are for indication only; please refer to your individual unit for actual item.
• Under no circumstances should the oven be lined with aluminium foil as overheating may occur.
• Do not place dishes or baking trays directly onto the base of the oven as it becomes very hot and
damage may occur.
• During use, this appliance becomes hot. Care should be taken to avoid touching hot surfaces, e.g., oven
door, heating elements.
• Accessible parts may become hot when in use. Children should be kept away.
CFSEWH_SV12_IB_120601_Annie.indd 7 12年6月1日 下午7:02