EasyManua.ls Logo

Dacor PMOR30S - INVERTER UNIT DEFECTIVE CHART

Dacor PMOR30S
46 pages
Print Icon
To Next Page IconTo Next Page
To Next Page IconTo Next Page
To Previous Page IconTo Previous Page
To Previous Page IconTo Previous Page
Loading...
17
PMOR30B
PMOR30R
PMOR30S
Chart for checking the defective inverter unit
No power at full power output cooking
Varistor VRS2 or/and foil pattern open
on the inverter unit .
High Voltage diode D11 and D12 are
defective.
Magnetron is defective.
H. V. transformer is defective.
Exchange the Inverter unit
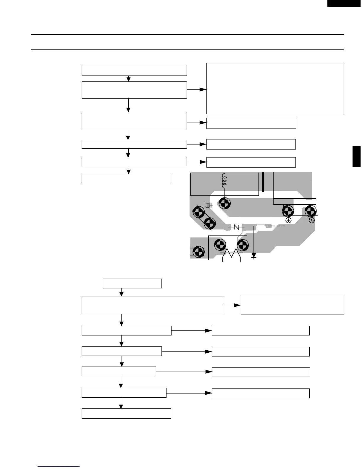
Figure B-1 Foil pattern circuit on Inverter Unit
Brown monitor fuse
The secondary interlock switch, primary interlock
switch and the monitor switch are operating properly.
YES
power transistor Q1 is defective.
YES
Exchange the power transistor Q1.
NO
Bridge diode D1 is defective.
YES
Exchange the bridge diode D1.
NO
Varistor VRS3 is defective.
YES
Exchange the varistor VRS3.
NO
H. V. transformer is defective.
YES
Exchange the H. V. transformer.
YES
NO
YES
NO
NO
YES
Varistor VRS2 is defective.
Exchange the defective parts.
When a foil pattern at "e" is broken, insert a jumper
wire at "J2" and solder.
When a foil pattern at "e" and "f" are broken, insert
a coil RCILF2003YAZZ between "g" and "h". (See
Figure B-1.)
Exchange the D11 and D12.
Exchange the magnetron.
Exchange the H. V. transformer
YES
TEST PROCEDURES
PROCEDURE
LETTER
COMPONENT TEST
NO
Check the switches according to
the switch Test Procedure
M
VRS2
L2
BLUE
RED
D1
(J2)
h
f
g
e
D32
NOTE: "e", "f," "g", "h" and "(J2)"
are not indicated on
P.W.B.
NO
Exchange the Inverter unit

Related product manuals