EasyManua.ls Logo

Dacor Preference SGM304 - Page 14

Dacor Preference SGM304
16 pages
Print Icon
To Next Page IconTo Next Page
To Next Page IconTo Next Page
To Previous Page IconTo Previous Page
To Previous Page IconTo Previous Page
Loading...
12
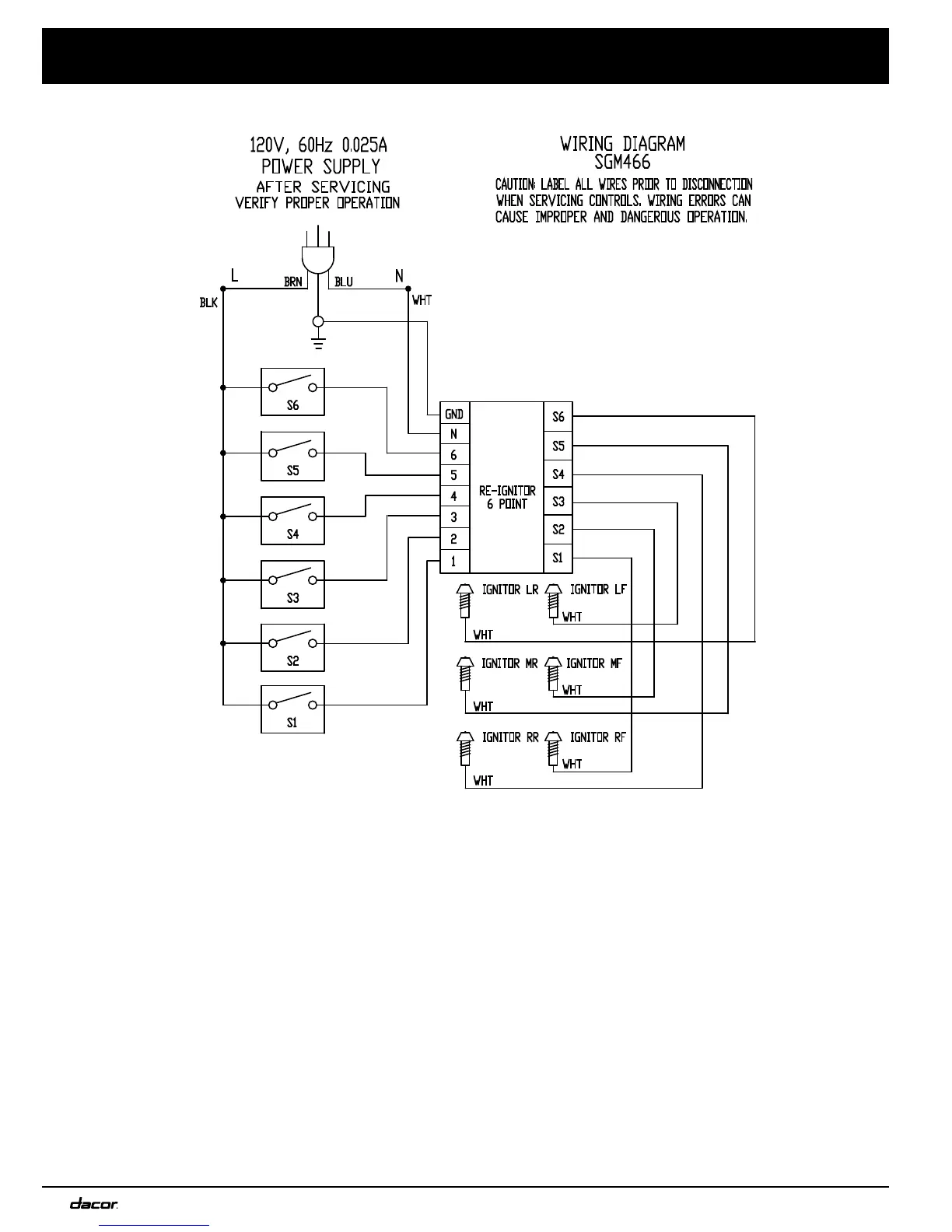
WIr I n g DI a g r a m s

Related product manuals