EasyManua.ls Logo

DAEWOO ELECTRONICS AVS1302 HDMI - Front Panel Description

DAEWOO ELECTRONICS AVS1302 HDMI
15 pages
Print Icon
To Next Page IconTo Next Page
To Next Page IconTo Next Page
To Previous Page IconTo Previous Page
To Previous Page IconTo Previous Page
Loading...
5
Bluetooth Karaoke Machine
AVS1302 HDMI & AVS1302W HDMI
User Manual
IMPORTANT RETAIN THESE INSTRUCTIONS FOR FUTURE REFERENCE
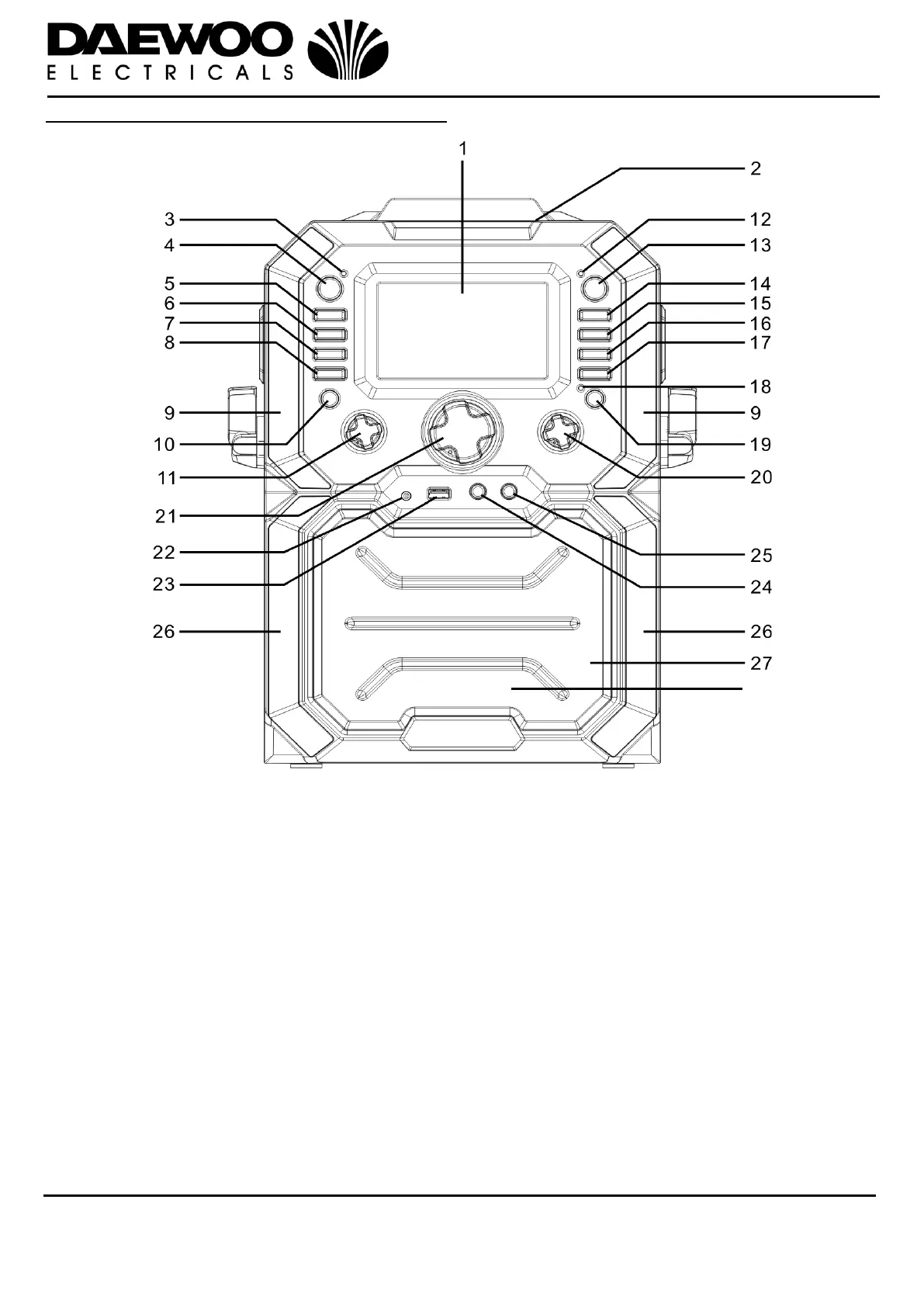
Description of Parts Front Panel View
1. Monitor 15. SKIP - Button
2. CD Compartment 16. SKIP + Button
3. LED Power Indicator 17. STOP Button
4. POWER/MODE Button 18. Bluetooth Indicator
5. Monitor on/off Button 19. PAIR/PLAY/PAUSE Button
6. A.V.C on/off Button 20. BALANCE Control
7. ECHO + Button 21. MASTER VOL Control
8. ECHO - Button 22. 3.5mm AUX IN Jack Socket
9. LED Decorative Lights 23. USB Port
10. LIGHT MODE Button 24. MIC 1 Jack Socket
11. MIC VOL Control 25. MIC 2 Jack Socket
12. REC Indicator 26. LED Decorative Lights
13. REC Button 27. Metal Grill
14. REPEAT/PROG Button 28. Internal Speaker
28