EasyManua.ls Logo

DAEWOO ELECTRONICS DWC-L1011 - Wiring Diagram

DAEWOO ELECTRONICS DWC-L1011
37 pages
Print Icon
To Next Page IconTo Next Page
To Next Page IconTo Next Page
To Previous Page IconTo Previous Page
To Previous Page IconTo Previous Page
Loading...
E-33
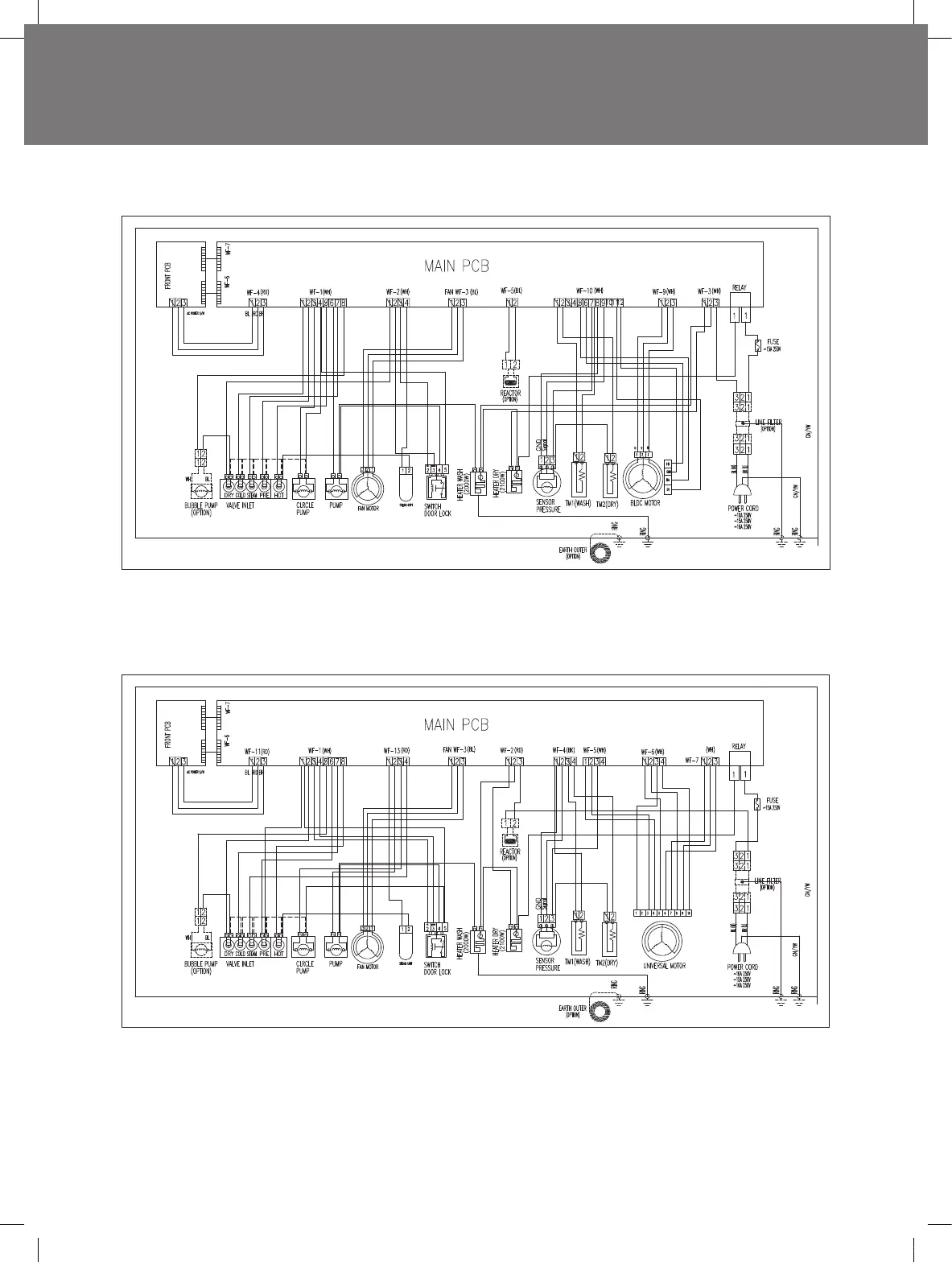
ElWiring diagram
DWC-LD'S
DWD-LD'S
(OPTION)
(OPTION)
(OPTION)
(OPTION)
(OPTION)
(OPTION)
DWC-LU'S
DWD-LU'S
(OPTION)
(OPTION)
(OPTION)
(OPTION)
(OPTION)
(OPTION)
DWC-L1011(영).indd 33 2014-10-02 오후 5:52:23

Related product manuals