EasyManua.ls Logo

DAEWOO ELECTRONICS FRA-X22B series - How to Install Water Line; Water Line Requirements; Connecting Water Line to Tap; Connecting Water Line to Refrigerator

DAEWOO ELECTRONICS FRA-X22B series
18 pages
Print Icon
To Next Page IconTo Next Page
To Next Page IconTo Next Page
To Previous Page IconTo Previous Page
To Previous Page IconTo Previous Page
Loading...
14
How to install Water Line
(Dispenser models only)
1. The water pressure should be 2.0~12.5 kgf/cm²
(1.96 ~12.26 Bar) or more to run the automatic icemaker.
Check your tap water pressure; if a cup of 180cc is
full within 10 seconds, the pressure is OK.
2. When installing the water tubes, ensure they are not
close to any hot surfaces.
3. The water filter only filters water; it does not eliminate
any bacteria or microbes.
4. If the water pressure is not sufficient to run the icemaker,
call the local plumber to get an additional water pressure
pump.
5. The filter life depends on the amount of use. We
recommend you to replace the filter at least once every
6 months.
6. After installation of refrigerator and water line system,
select [WATER] on your control panel and press it for
2~3 minutes to supply water into the water tank and
dispense water.
7. Use plumbers thread sealing tape on every connection of
pipes/tubes to ensure there is no water leaks.
8. The water tube should be connected to the cold water
line.
WATER SUPPLY KIT
Check the parts below for installing water supply.
Some other necessary parts are available at your local
service agents.
Installation Procedure
(Dispenser models only)
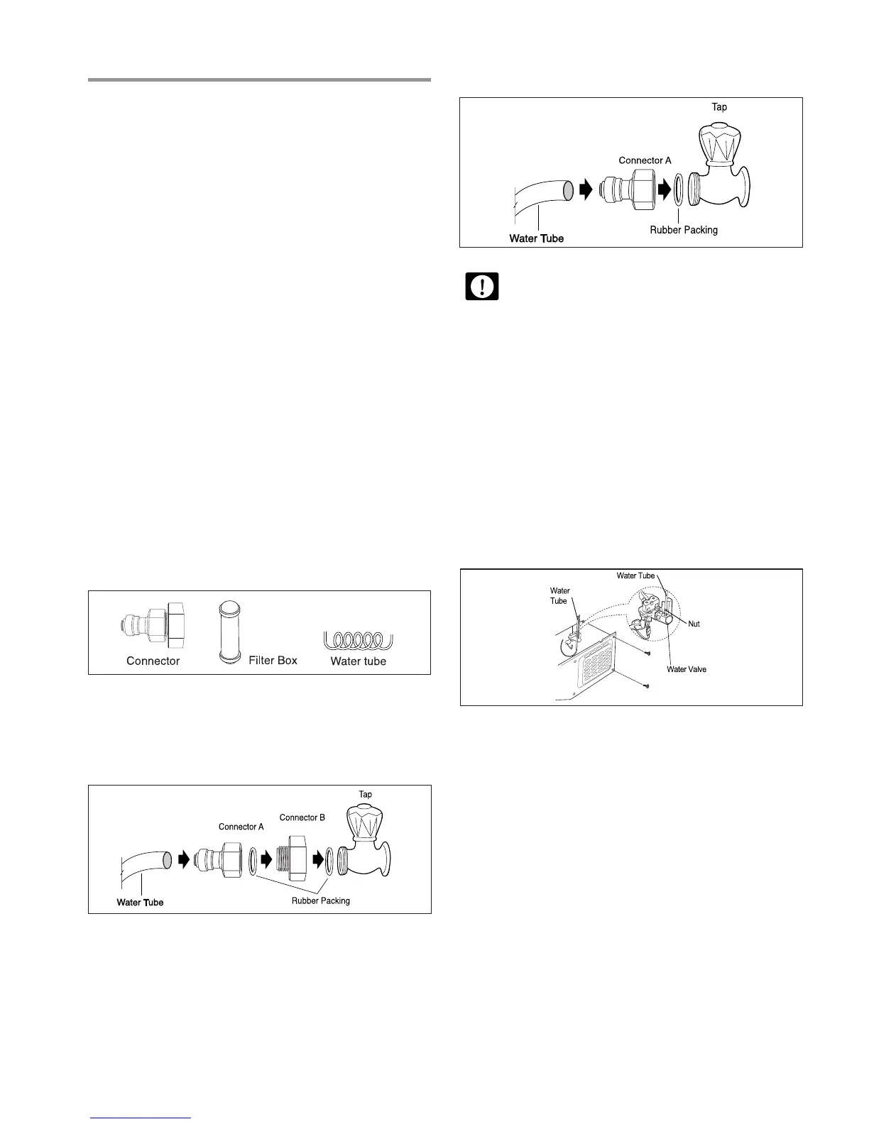
1. Join connector to the tap water line
Figure A
Figure B
Place the rubber washer inside the tap connector
and screw onto the water tap.
2. Connect the Water Tube to the refrigerator.
1) Remove the rear cover at the bottom back of the
refrigerator.
2) Insert the fastening ring into the Water tube. (Be careful
to follow the direction of the nut.)
3) Insert the Water Tube into the top of the Water Valve,
turn the nut clockwise to fasten it. (The Water valve is to
the right of the motors.)
4) Check for any bent tubes or water leaks; if so, reckeck
installation procedure.
5) Replace the rear cover. (The Water Tube should be
placed between the groove of the refrigerator back and
motor cover.)
Set the tube upright as the figure shows.
3. After installation of Water Supply System
1) Plug in the refrigerator, press the [WATER] button on the
control panel for 2~3 minutes to remove any air (bubble)
in the pipes and drain out the initial water.
2) Check for the water leaks again through the water supply
system(tubes, connectors and pipes). Rearrange the
tubes again and do not move the refrigerator.

Related product manuals