EasyManua.ls Logo

Daewoo DALM2051SD - Montáž Rukojeti

Daewoo DALM2051SD
65 pages
Print Icon
To Next Page IconTo Next Page
To Next Page IconTo Next Page
To Previous Page IconTo Previous Page
To Previous Page IconTo Previous Page
Loading...
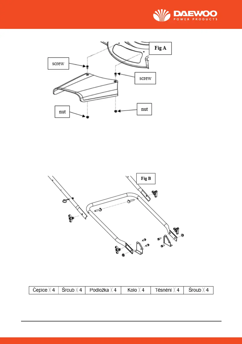
2. MONTÁŽ RUKOJETI
1) Sestavte spodní rukojeť (2) se 2 otočnými knoíky, 2 maticemi a 4
šrouby.
2) Smontujte horní rukojeť (1) se 2 otočnými knoíky a 2 šrouby.
3. MONTÁŽ RUKOJETI
5

Related product manuals