EasyManua.ls Logo

Daewoo DTH-21S8 - Page 29

Daewoo DTH-21S8
58 pages
Print Icon
To Next Page IconTo Next Page
To Next Page IconTo Next Page
To Previous Page IconTo Previous Page
To Previous Page IconTo Previous Page
Loading...
-28-
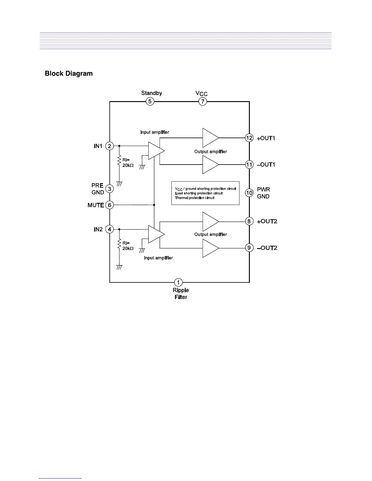
IC DESCRIPTION

Related product manuals