EasyManua.ls Logo

Daewoo FRU-541 Series - Ice Maker Water System Management; Water Supply Process and Verification Methods

Daewoo FRU-541 Series
74 pages
Print Icon
To Next Page IconTo Next Page
To Next Page IconTo Next Page
To Previous Page IconTo Previous Page
To Previous Page IconTo Previous Page
Loading...
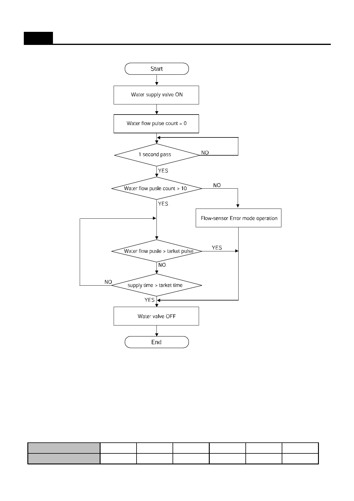
4. Water supply mode
1) If water supply mode starts, the water valve is ON.
2) When Flow sensor is abnormal, supply mode controlled by the time.
3) Factor value is variable when After sales action. ( Adjust water quantity )
- Normal Water flow pulse setting is 238. ( When controlled by the time, maximum time limit is 15 seconds.)
- When the flow sensor is abnormal, time limit is 5.5 seconds.
5. Water supply check mode
Verify water supply completion by comparing room temperature sensor with ice sensor after 5 minutes from water supply.
FUNCTIONS ( Ice Maker_ Dispenser Model)
Room temperature sensor
Below 9C ~ 15C ~ 21C ~ 31C ~ 41C Over 41C
Ice sensor
-10C -9C -8C -7C -6C -5C
23

Related product manuals