EasyManua.ls Logo

Daikin FCA140AV16 - Test Operation

Daikin FCA140AV16
68 pages
Print Icon
To Next Page IconTo Next Page
To Next Page IconTo Next Page
To Previous Page IconTo Previous Page
To Previous Page IconTo Previous Page
Loading...











 












 





 
 



 




 

 
 
 
 






 


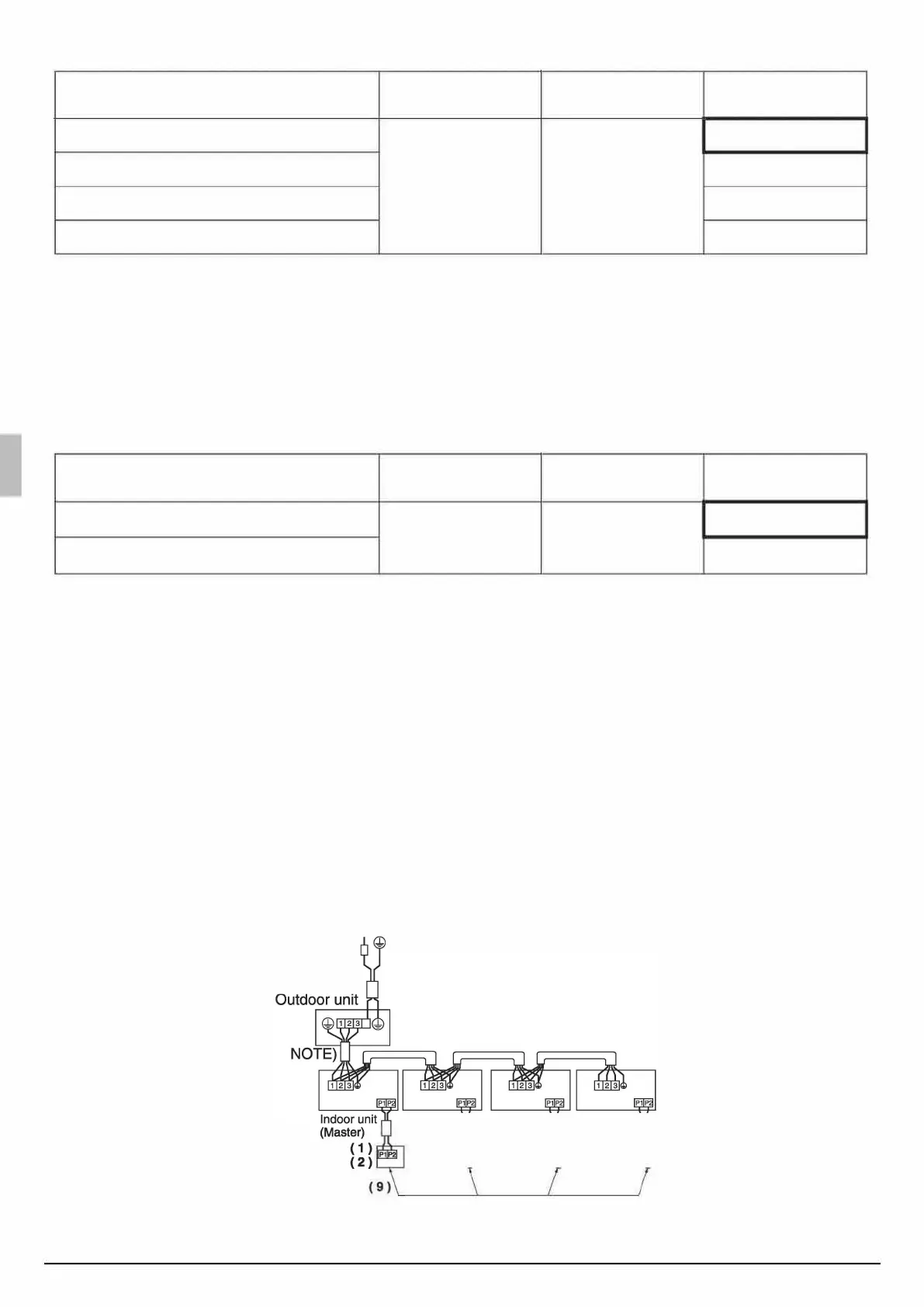
Eah leakage
breaker
Power Supply
1 ~50 Hz 2
3
0 V

1


1


1







(

) 


) 







 





Related product manuals