EasyManua.ls Logo

Daikin FTXC50A - Page 59

Daikin FTXC50A
88 pages
Print Icon
To Next Page IconTo Next Page
To Next Page IconTo Next Page
To Previous Page IconTo Previous Page
To Previous Page IconTo Previous Page
Loading...
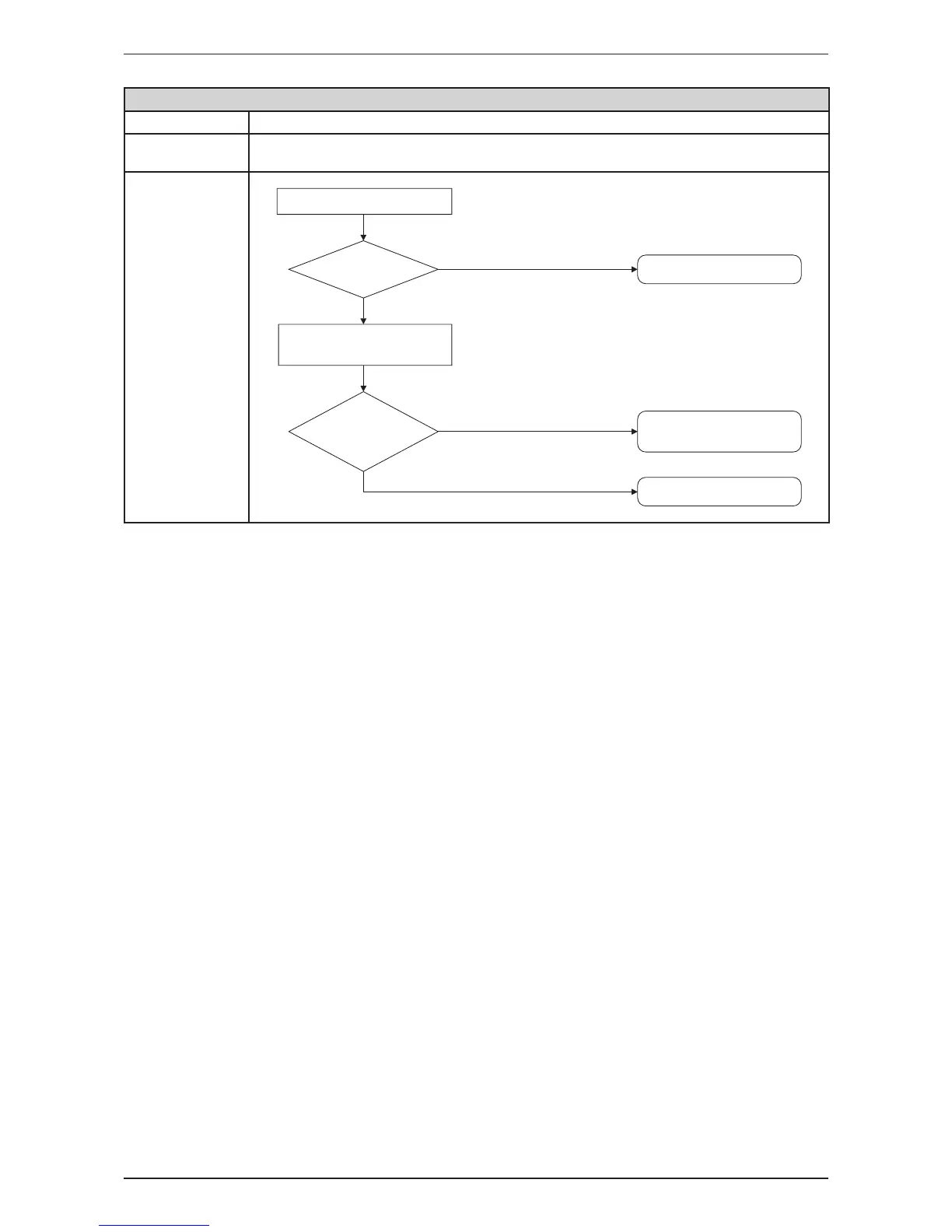
Service Diagnosis
51
H0 (ARXN/RXN25/35M/N, RXK25/35A)
Description
COMPRESSOR SENSOR SYSTEM ABNORMAL
Possible Root
cause
1. Broken and disconnected harness.
2. Outdoor unit PCB defective.
Troubleshooting
Is the harness
broken?
Get restarted
and error
displayed again?
Yes
No
Turn off the power and turn it on
again.
Yes
No problem.
Keep on running.
No
Replace the harness.
Replace the PCB.
Check the harness S30.

Related product manuals