EasyManua.ls Logo

Daikin Super Multi NX FBQ60C7VEB

Daikin Super Multi NX FBQ60C7VEB
501 pages
To Next Page IconTo Next Page
To Next Page IconTo Next Page
To Previous Page IconTo Previous Page
To Previous Page IconTo Previous Page
Loading...
SiBE121021_C RA Indoor Unit
Operation Manual 163
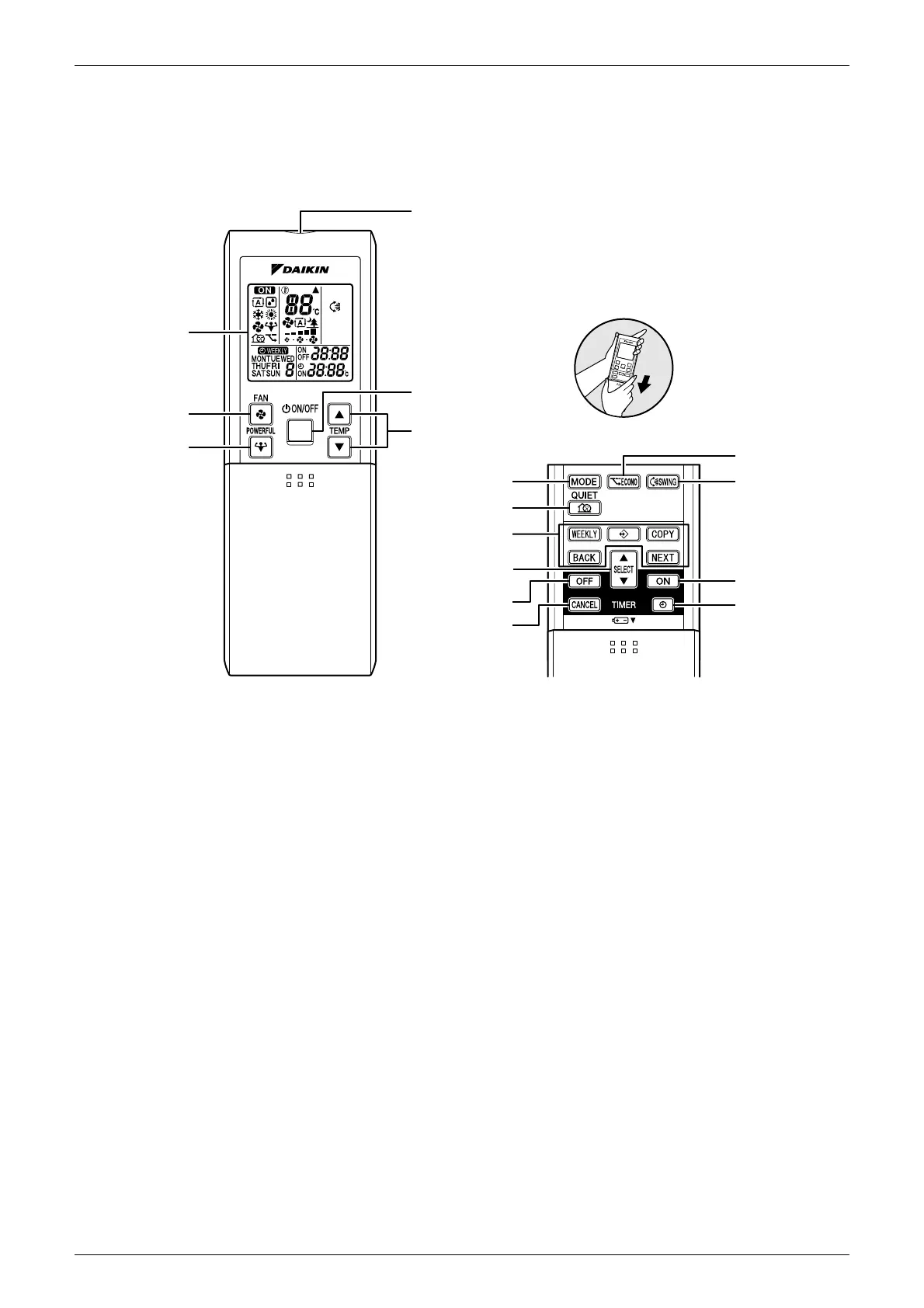
Remote Controller
1
5
6
2
3
4
<ARC452A1>
7
8
11
12
13
15
<Open the lid>
9
10
14
16
1. Signal transmitter:
• It sends signals to the indoor unit.
2. Display:
• It displays the current settings.
(In this illustration, each section is shown
with all its displays ON for the purpose of
explanation.)
3. FAN setting button:
• It selects the airflow rate setting.
4. POWERFUL button:
POWERFUL operation
5. ON/OFF button:
• Press this button once to start operation.
Press once again to stop it.
6. TEMPERATURE adjustment buttons:
• It changes the temperature setting.
7. MODE selector button:
• It selects the operation mode.
(AUTO/DRY/COOL/HEAT/FAN)
8. QUIET button:
OUTDOOR UNIT QUIET operation
9. ECONO button:
ECONO operation
10. SWING button:
• Adjusting the Airflow Direction
11. WEEKLY/PROGRAM/COPY/BACK/NEXT
button:
WEEKLY TIMER operation
12. SELECT button:
• It changes the ON/OFF TIMER and
WEEKLY TIMER settings.
13. OFF TIMER button
14. ON TIMER button
15. TIMER CANCEL button:
• It cancels the timer setting.
It cannot be used for the WEEKLY TIMER operation.
16. CLOCK button

Table of Contents

Related product manuals