EasyManua.ls Logo

Daikin Super Multi NX FBQ60C7VEB

Daikin Super Multi NX FBQ60C7VEB
501 pages
To Next Page IconTo Next Page
To Next Page IconTo Next Page
To Previous Page IconTo Previous Page
To Previous Page IconTo Previous Page
Loading...
Piping Diagrams SiBE121021_C
464 Appendix
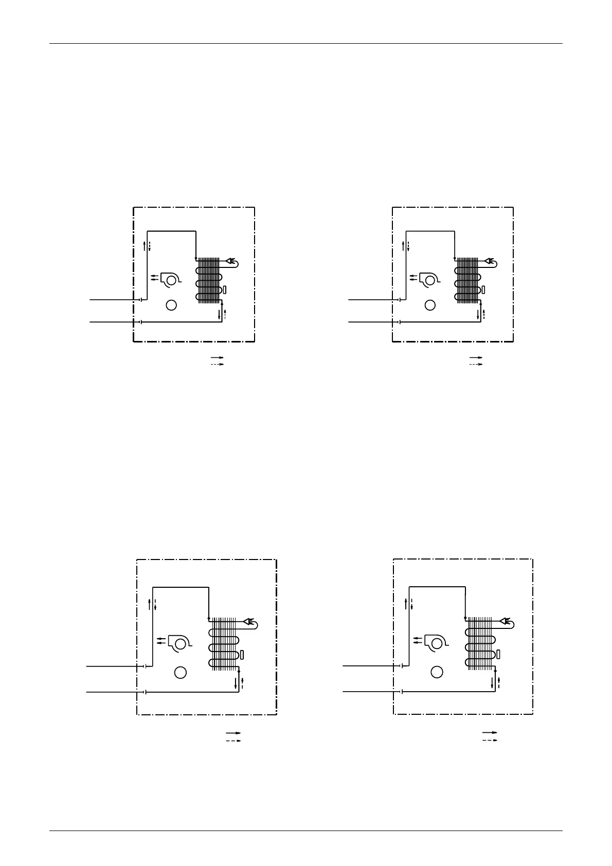
1. Piping Diagrams
1.1 Indoor Unit
1.1.1 Wall Mounted Type
FTXG25/35JV1BW(S) CTXG50JV1BW(S)
FTXS20/25/35/42G2V1B
FTXS20/25/35/42J2V1B
ATXS20/25/35/42G2V1B
FTXS50G2V1B
FTXS50J2V1B
ATXS50G2V1B
THERMISTOR
ON HEAT EXCH.
HEAT EXCHANGER
CROSS FLOW FAN
FAN MOTOR
M
FIELD PIPING
6.4CuT
FIELD PIPING
9.5CuT
9.5CuT
6.4CuT
INDOOR UNIT
REFRIGERANT FLOW
COOLING
HEATING
4D065855
THERMISTOR
ON HEAT EXCH.
INDOOR UNIT
6.4CuT
CROSS FLOW FAN
FIELD PIPING
FIELD PIPING
6.4CuT
12.7CuT
M
FAN MOTOR
9.5CuT
HEAT EXCHANGER
REFRIGERANT FLOW
COOLING
HEATING
4D065856
CROSS FLOW FAN
9.5CuT
REFRIGERANT FLOW
FIELD PIPING
9.5CuT
6.4CuT
FIELD PIPING
M
COOLING
THERMISTOR
ON HEAT EXCH.
INDOOR UNIT
FAN MOTOR
HEAT EXCHANGER
6.4CuT
HEATING
4D058897F
CROSS FLOW FAN
COOLING
9.5CuT
6.4CuT
M
INDOOR UNIT
6.4CuT
REFRIGERANT FLOW
HEATING
FAN MOTOR
FIELD PIPING
HEAT EXCHANGER
THERMISTOR
ON HEAT EXCH.
FIELD PIPING
12.7CuT
4D058898F

Table of Contents

Related product manuals