EasyManua.ls Logo

Daikin Super Multi NX FBQ60C7VEB

Daikin Super Multi NX FBQ60C7VEB
501 pages
To Next Page IconTo Next Page
To Next Page IconTo Next Page
To Previous Page IconTo Previous Page
To Previous Page IconTo Previous Page
Loading...
SiBE121021_C Field Settings
Trial Operation and Field Settings 453
Wireless remote
controller
BRC7E530W/531W, BRC7F532F/533F, BRC7EA63W/66
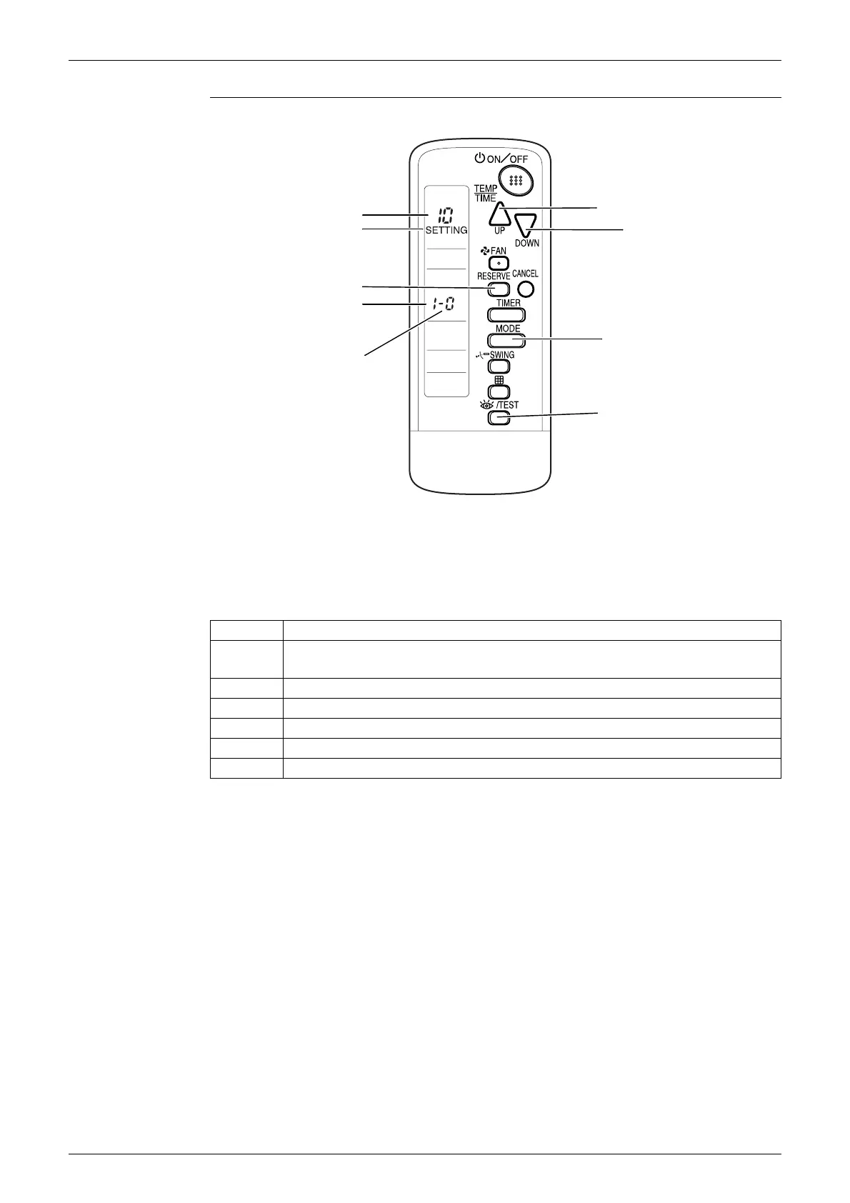
To set the field settings, you have to change:
Mode No.
First code No.
Second code No.
Step Action
1 Press the [Inspection / Test] button for 4 seconds during normal mode to enter the
field setting mode.
2 Press the [MODE] button to select the desired mode No.
3 Press the [UP] button to select the first code No.
4 Press the [DOWN] button to select the second code No.
5 Press the [RESERVE] button to confirm the setting.
6 Press the [Inspection / Test] button to return to the normal mode.
[Inspection / Test] button
UP button
DOWN button
MODE button
(R14426)
RESERVE button
Mode No.
Field setting mode
First code No.
Second code No.

Table of Contents

Related product manuals