EasyManua.ls Logo

Danby DAR044A6MDB-6 - Instrucciones para Invertir la Puerta

Danby DAR044A6MDB-6
28 pages
Print Icon
To Next Page IconTo Next Page
To Next Page IconTo Next Page
To Previous Page IconTo Previous Page
To Previous Page IconTo Previous Page
Loading...
21
INSTRUCCIONES DE OPERACIÓN
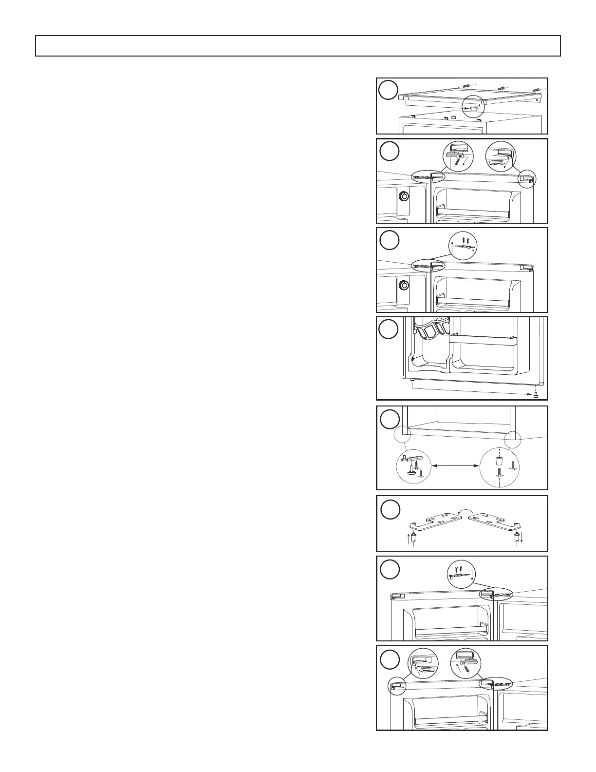
INSTRUCCIONES PARA INVERTIR LA PUERTA
Si el aparato se coloca sobre su parte posterior o lateral
durante un período de tiempo durante este proceso, debe
permitirse que permanezca en posición vertical durante
6 horas antes de enchufarlo para evitar daños en los
componentes internos.
1. Retire los tres tornillos de la parte posterior de la
encimera. Levante la parte posterior de la encimera
y tire de ella hacia la parte frontal del aparato para
retirarla. Retire la cubierta del orifi cio de la bisagra
de la encimera del lado izquierdo de la encimera y
muévala al orifi cio de la bisagra en el lado derecho de
la encimera.
2. Retire la cubierta del eje de la puerta que cubre la
bisagra en el lado superior izquierdo de la puerta.
Retire la cubierta del orifi cio del lado superior derecho
de la puerta. La extracción de la cubierta del orifi cio
puede requerir un destornillador de punta plana.
3. Retire la bisagra superior del lado superior derecho del
gabinete. Retire la puerta del armario.
4. Retire la cubierta del orifi cio de la bisagra inferior del
lado inferior izquierdo de la puerta y muévala hacia el
lado inferior derecho de la puerta.
5. Retire el pie ajustable y la bisagra inferior de la parte
inferior derecha del gabinete. Retire el pie sólido y los
tornillos de la parte inferior izquierda del gabinete.
Instale el pie sólido en el lado inferior derecho del
gabinete. Instale la bisagra inferior y el pie ajustable en
el lado inferior izquierdo del gabinete.
6. Retire el pasador de la bisagra de la bisagra superior.
Voltee la bisagra superior e instale el pasador de la
bisagra en el otro lado.
7. Instale la bisagra superior y la puerta en el gabinete.
8. Instale la cubierta del eje de la puerta para cubrir la
bisagra en el lado superior derecho de la puerta. Instale
la cubierta del orifi cio en el orifi cio en el lado superior
izquierdo de la puerta.
9. Instale la encimera colocándola sobre el aparato y
empujándola hacia la parte posterior hasta que encaje
en su lugar y luego vuelva a instalar los tres tornillos en
la parte posterior.
Nota: cuando vuelva a instalar la puerta, asegúrese de que
la parte superior de la puerta esté nivelada con la parte
superior del gabinete y que la junta de goma quede bien
sellada con el gabinete en todos los sentidos.
1
2
4
5
6
3
8
7

Related product manuals