EasyManua.ls Logo

Danby DDEF03813BD13 - Page 40

Danby DDEF03813BD13
44 pages
Print Icon
To Next Page IconTo Next Page
To Next Page IconTo Next Page
To Previous Page IconTo Previous Page
To Previous Page IconTo Previous Page
Loading...
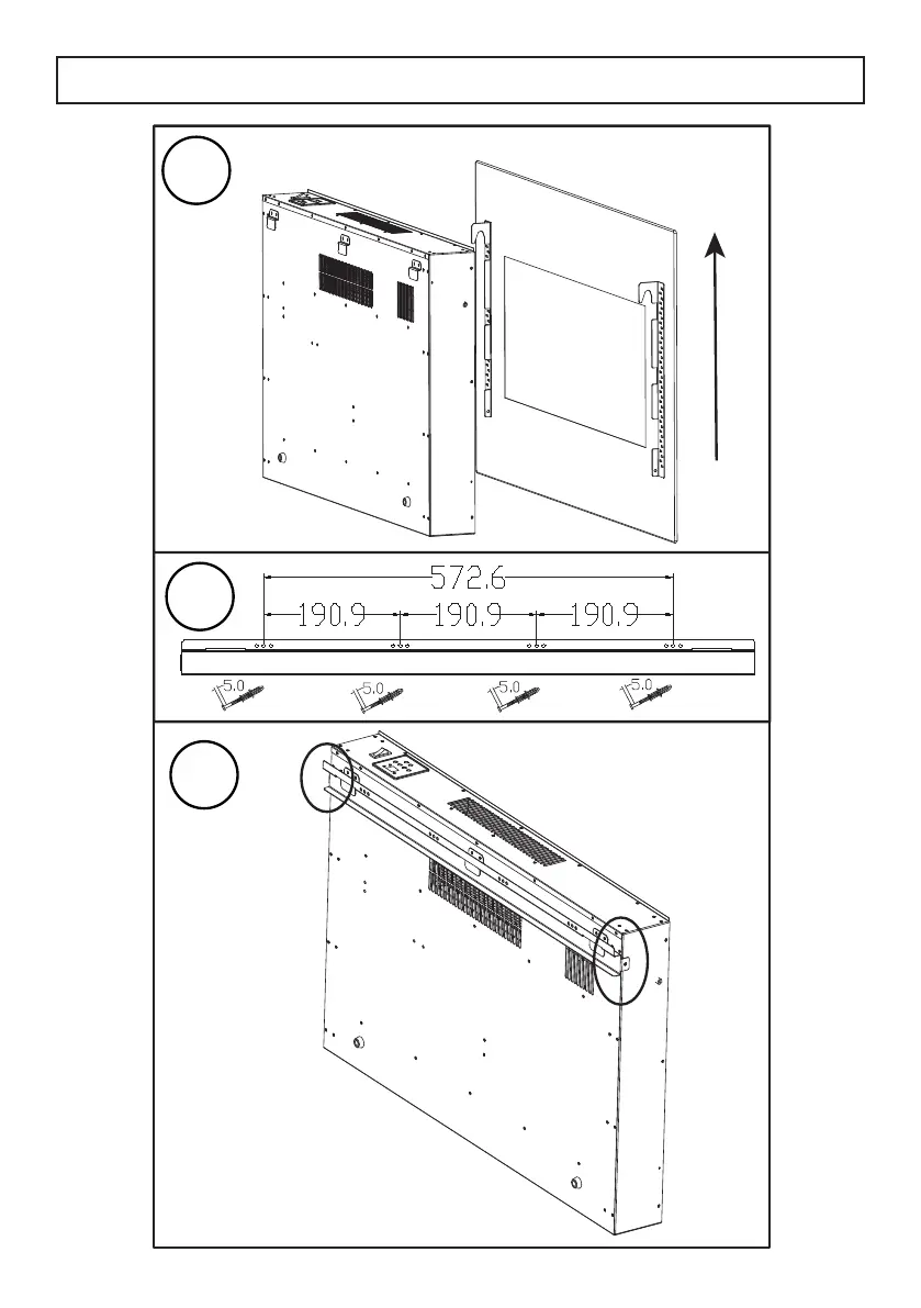
INSTRUCCIONES DE INSTALACIÓN
39
1
2
3

Related product manuals