EasyManua.ls Logo

Danby DDEF03813BD13 - Page 41

Danby DDEF03813BD13
44 pages
Print Icon
To Next Page IconTo Next Page
To Next Page IconTo Next Page
To Previous Page IconTo Previous Page
To Previous Page IconTo Previous Page
Loading...
INSTRUCCIONES DE INSTALACIÓN
40
INSTALACIÓN DE LECHO DE
BRASA
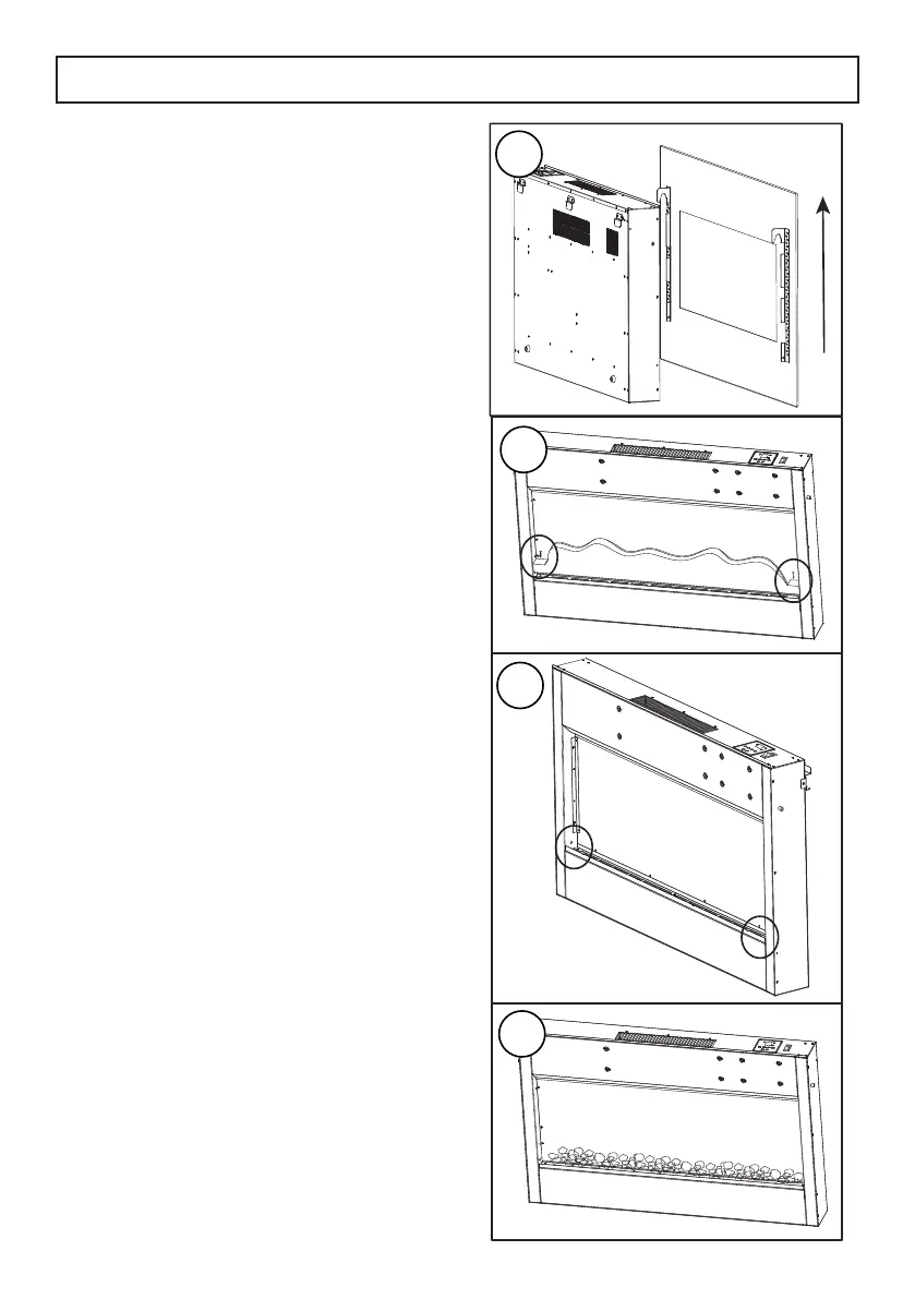
ADVERTENCIA: El siguiente paso
involucra vidrio. Siempre tenga
mucho cuidado al manipular
el vidrio. El no hacerlo podría
resultar en lesiones personales o
daños a la propiedad.
Esta chimenea vendrá con la
cama de troncos de imitación
preinstalada. Para cambiar a los
cristales transparentes provistos,
siga los pasos a continuación.
1. El vidrio debe retirarse antes
de la instalación. Quite los dos
tornillos en el lado izquierdo
y derecho del vidrio y luego
levante el panel de vidrio hacia
arriba para quitarlo.
2. Retire los dos tornillos de cada
lado de la cama de troncos
falsos.
3. Retire la cama de troncos falsos
y vuelva a colocar los tornillos.
4. Esparce los cristales
transparentes sobre el lecho de
brasas.
5. Vuelva a colocar el vidrio
en la parte delantera de la
chimenea, asegurándose de
que las lengüetas de ubicación
encajen de forma segura en sus
ranuras correspondientes y que
los tornillos estén apretados.
2
4
3
1

Related product manuals