EasyManua.ls Logo

Dee Zee Running Board - Page 8

Default Icon
11 pages
Print Icon
To Next Page IconTo Next Page
To Next Page IconTo Next Page
To Previous Page IconTo Previous Page
To Previous Page IconTo Previous Page
Loading...
7
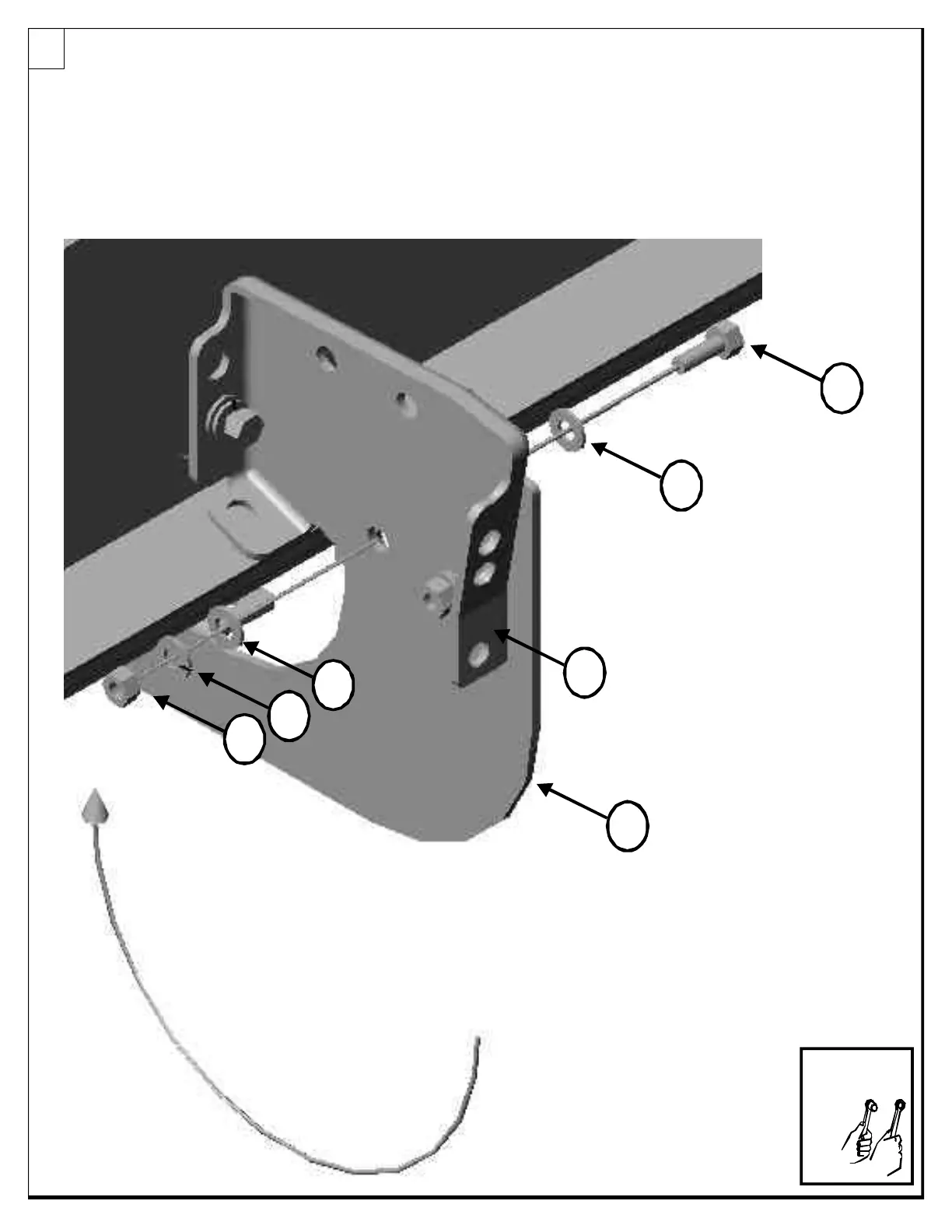
Rotatethebraceassemblytotheuprightpositionandsecureitintoplaceusinga3/8x1"hexheadbolt(I),3/8"lock
washer(L),5/16"flatwashers(J),and3/8"hexnuts(K)asshownbelow.
Tournezlecroisillonjusqlapositiondroiteetfixez-ledansl'endroitàl'aided'unboulondetêted'hexade3/8xde1"
(i),delarondelledefreinagede3/8"(l),desrondellesplatesde5/16"(j),etdesécrousd'hexade3/8"(k)commemontré
ci-dessous.
9/16and7/16“
Wrenchor
Socket
D
L
K
I
J
J
Rotate
C