EasyManua.ls Logo

Dee Zee Running Board - Page 7

Default Icon
11 pages
Print Icon
To Next Page IconTo Next Page
To Next Page IconTo Next Page
To Previous Page IconTo Previous Page
To Previous Page IconTo Previous Page
Loading...
6
CorrectHoleLocations
CorrectHoleLocations
Vehicle
Rocker
Panel
I
C
J
D
KL
KK
J
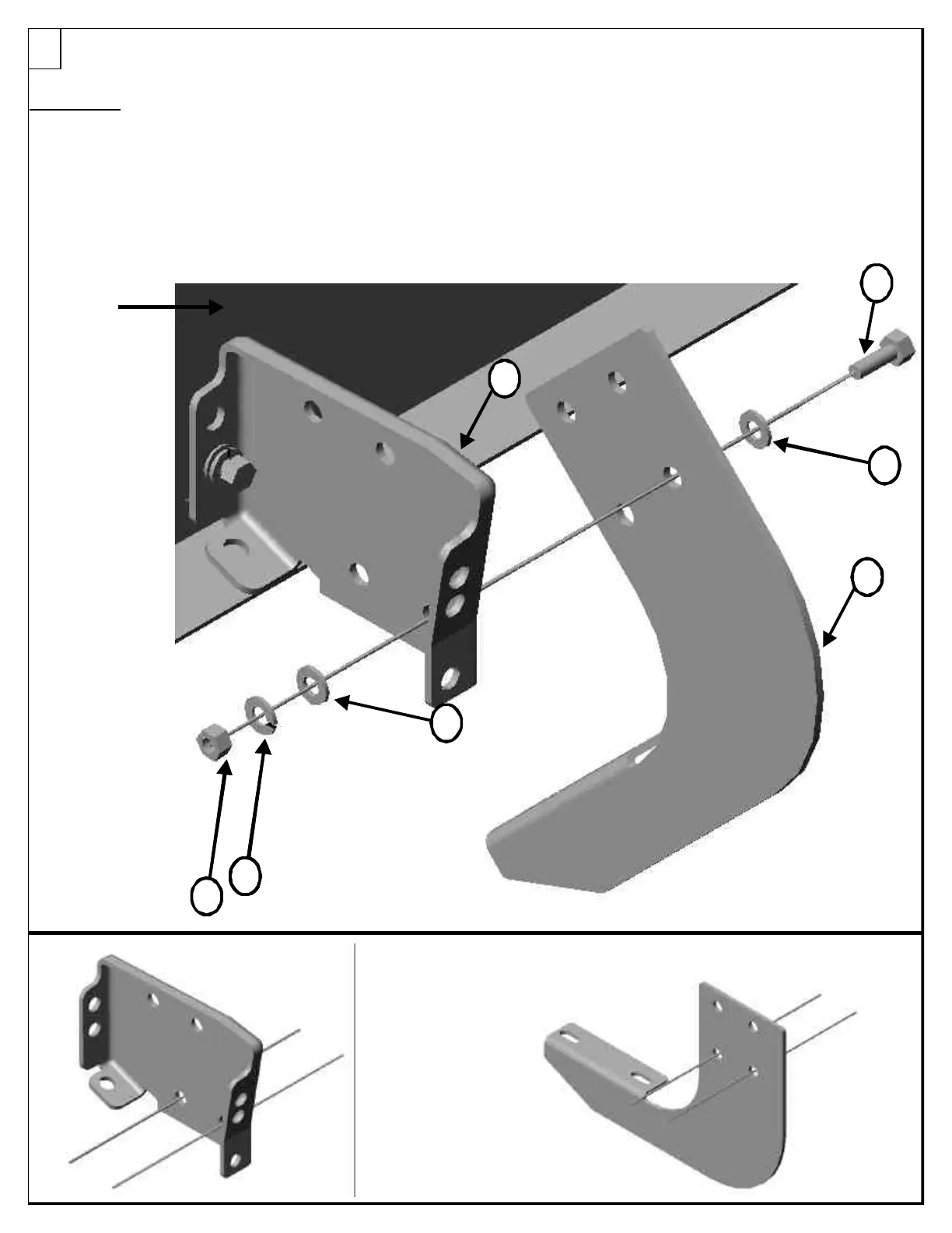
Usingthedrawingbelowasaguide,placerunningboardbracket(D)uptorockerpanelbracket(C).Securethe
holeinrunningboardbracket(D)totheholeintherockerpanelbracket(C)using3/8x1"hexheadbolt(I),
5/16"flatwashers(J),3/8"lockwasher(L),and3/8"hexnut(K).
Enutilisantleschémaci-dessouscommeguide,placezlaparenthèsecourantedepanneau(d)jusqu'àlaparenthèsede
panneaudeculbuteur(c).Fixezletroud'arrière-basdanslaparenthèsecourantedepanneau(d)autroudansla
parenthèsedepanneaudeculbuteur(c)àl'aideduboulondetêted'hexade3/8xde1"(i),desrondellesplatesde5/16"
(j),delarondelledefreinagede3/8"(l),etdel'écroud'hexade3/8"(k).Note:Voirlesdessinsci-dessouspour
l'identificationcorrectedetrou.
rear-bottom
Note:Seedrawingsbelowforcorrectholeidentification.