EasyManua.ls Logo

Delem DA-69 - Page 145

Delem DA-69
239 pages
Print Icon
To Next Page IconTo Next Page
To Next Page IconTo Next Page
To Previous Page IconTo Previous Page
To Previous Page IconTo Previous Page
Loading...
Delem
V1101, 5.23
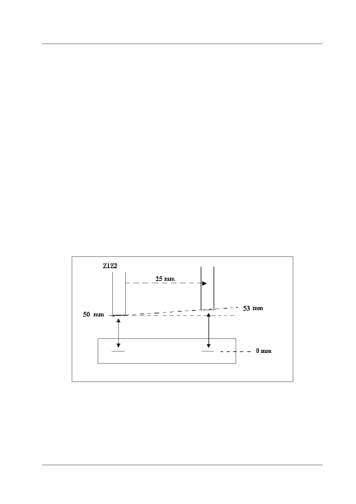
Parameter 25: Correction (Z)
Range : -9.999 - +9.999
Default : 0.000
Units : mm / 100mm
Remark : In case of a X1-axis and a X2-axis
Function
To compensate for mechanical deviations during Z1Z2-axis movements.
Description
When the Z1Z2-axis moves to another position it is possible that the X1- and X2-axis position
changes. You can use this parameter to program a position correction.
See figure 4.2l how to program the parameter. Notice the sign of the parameter value!
Correction (Z) = measured value - programmed value
Example
= 53 mm - 50 mm = 3 mm / 25 mm
= 12 mm / 100 mm
Figure 5.2.e

Related product manuals