EasyManua.ls Logo

Delta Electronics EXIO14RAE - Page 84

Delta Electronics EXIO14RAE
157 pages
Print Icon
To Next Page IconTo Next Page
To Next Page IconTo Next Page
To Previous Page IconTo Previous Page
To Previous Page IconTo Previous Page
Loading...
Appendix D Use of Application Instructions|DOP-EXIO Series
Revision March, 2008, Doc. Name: 2007PDD23000014 D-3
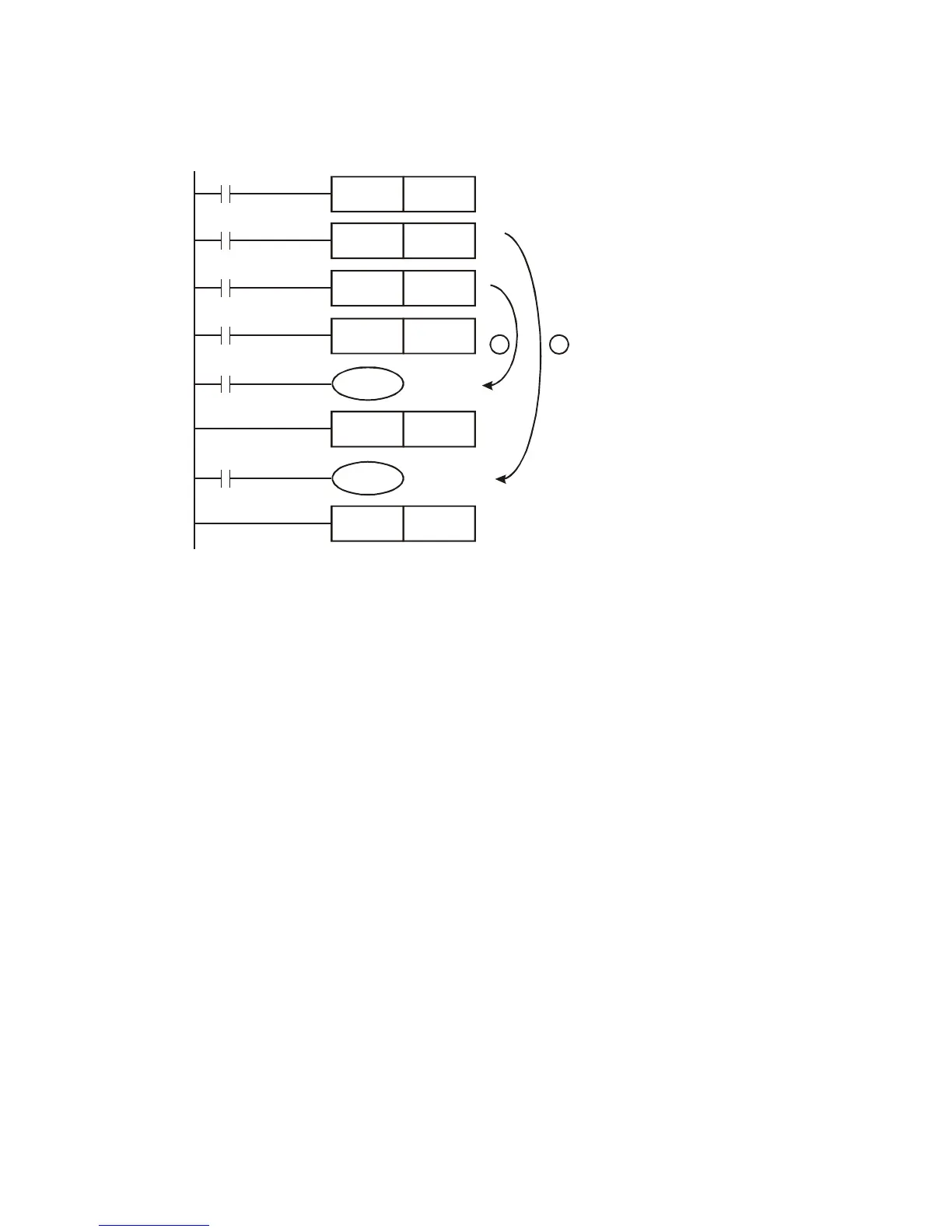
2. When CJ instruction is used between MC and MCR, it can only be applied without MC ~ MCR or
in the same N layer of MC ~ MCR. Jumping from this MC ~ MCR to another MC ~ MCR will result
in errors, i.e. a) and c) as stated above can ensure correct actions; others will cause errors.
X0
MC N0
X2
X3
X1
M1000
M1000
P1
P0
CJ
CJ
MC
N1
N1
N0
P1
P0
Y1
Y0
MCR
MCR
Program Example 3:
1. The status of each device when executing CJ instruction:
¾ The method of using this CJ instruction is similar to the method of using goto instruction of
C-language. When executing CJ instruction, the status of each device will not be changed.
¾ When the timers are driven and encounter the execution of CJ instruction, the timing will
resume. After the timing target is reached, the output contact of the timer will be On.
¾ The counter will stop counting (This is because the counter is activated to count via the
software).
¾ All the instructions which have encounterd the execution of CJ instruction will not be
activated.
2. Y1 is a dual output. When M0 = Off, Y1 is controlled by M1. When M0 = On, Y1 is controlled by
M12.

Related product manuals