EasyManua.ls Logo

Delta DOP-A - Page 32

Delta DOP-A
53 pages
Print Icon
To Next Page IconTo Next Page
To Next Page IconTo Next Page
To Previous Page IconTo Previous Page
To Previous Page IconTo Previous Page
Loading...
繁中-3
步驟三:
請以 0.7N-M 扭力鎖緊,切記不可超過此扭力,否則將造成塑膠外殼的損壞。
扭力:6.17lb-inch0.7N-M
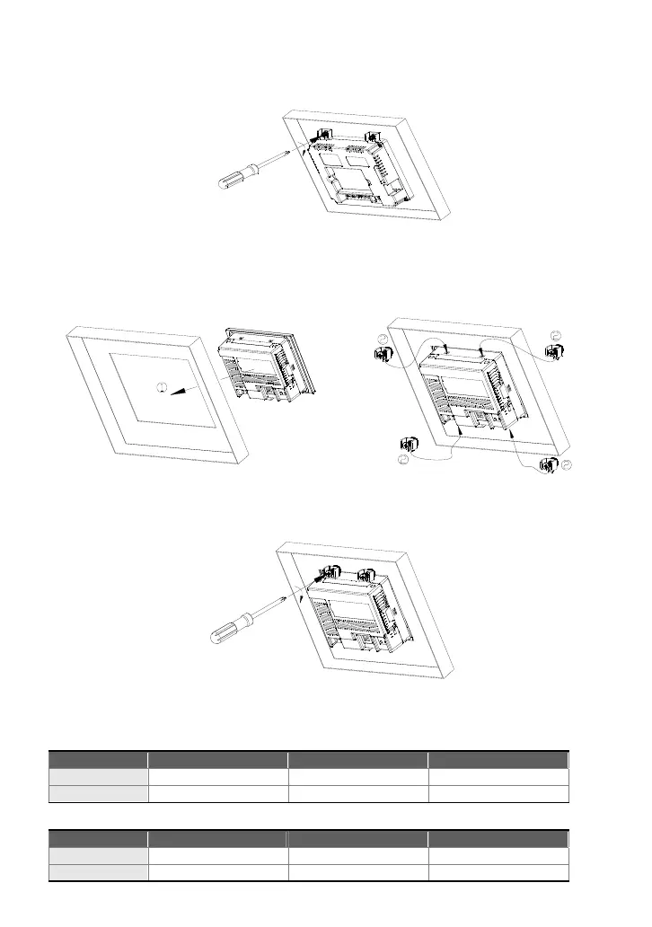
安裝示意圖【適用 AS 系列】
步驟一:
請確實將防水墊圈裝入,然後再安裝人機介面
步驟二:
請確實將固定片螺絲組裝入內,然後下方鉤住前蓋
螺絲頭頂住控制箱內側
步驟三:
請以 0.7N-M 扭力鎖緊,切記不可超過此扭力,否則將造成塑膠外殼的損壞。
扭力:6.17lb-inch0.7N-M
配線
電源端子配線資訊如下:
種類 電源配線(AWG 剝線長度
扭力
單芯線
28 ~ 12 7 ~ 8 mm
5 kg-cm4.3 lb-in
多芯線
30 ~ 12 7 ~ 8 mm
5 kg-cm4.3 lb-in
AS 系列通訊端子配線資訊如下:
種類 電源配線(AWG 剝線長度 扭力
單芯線
30 ~ 16 5 ~ 6 mm
2 kg-cm1.7 lb-in
多芯線
30 ~ 16 5 ~ 6 mm
2 kg-cm1.7 lb-in
Call 1(800)985-6929 for Sales
deltaacdrives.com
sales@deltaacdrives.com
Call 1(800)985-6929 for Sales
deltaacdrives.com
sales@deltaacdrives.com

Related product manuals