EasyManua.ls Logo

Delta DOP-A - Page 44

Delta DOP-A
53 pages
Print Icon
To Next Page IconTo Next Page
To Next Page IconTo Next Page
To Previous Page IconTo Previous Page
To Previous Page IconTo Previous Page
Loading...
简中-3
步骤三
请以 0.7N-M 扭力锁紧,切记不可超过此扭力,否则将造成塑胶外壳的损坏。
扭力:6.17lb-inch0.7N-M
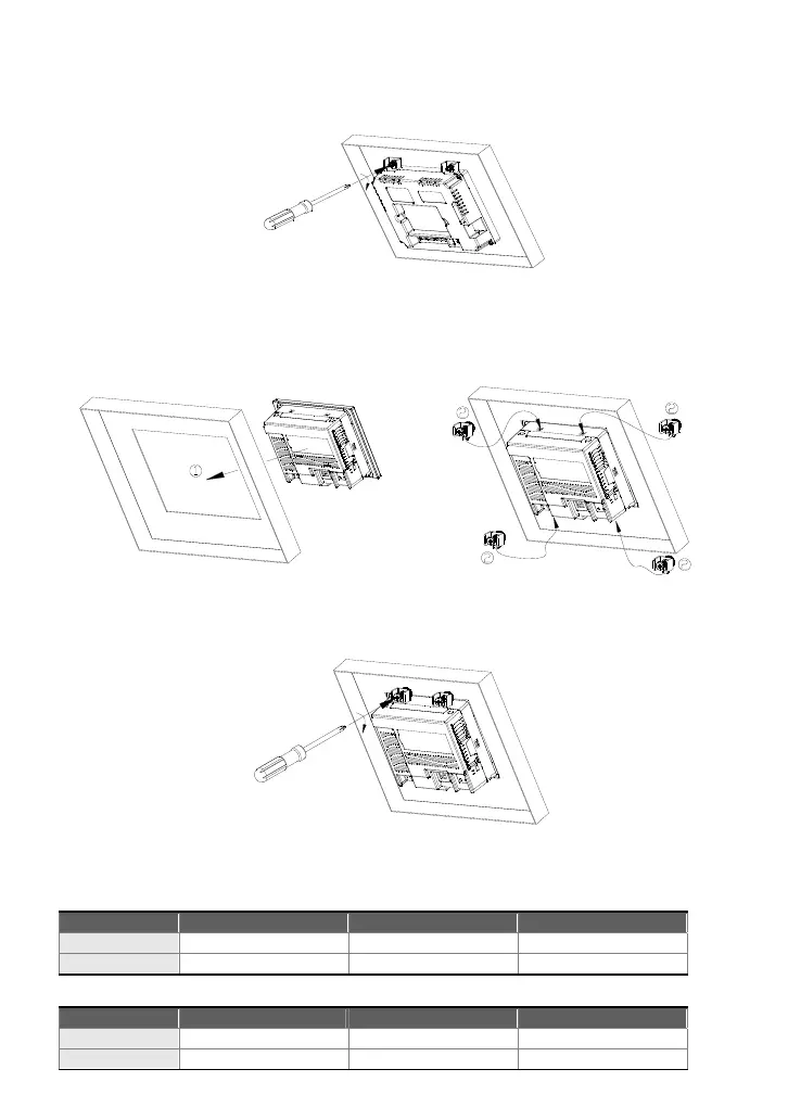
安装示意图【适用 AS 系列】
步骤一
请确实将防水垫圈装入,然后再安装人机接口
步骤二
请确实将固定片螺丝组装入内,然后下方钩住前盖
螺丝头顶住控制箱内侧
步骤三
请以 0.7N-M 扭力锁紧,切记不可超过此扭力,否则将造成塑胶外壳的损坏。
扭力:6.17lb-inch0.7N-M
配線
电源端子配线信息如下:
种类 电源配线(AWG 剥线长度 扭力
单芯线 28 ~ 12 7 ~ 8 mm
5 kg-cm4.3 lb-in
多芯线 30 ~ 12 7 ~ 8 mm
5 kg-cm4.3 lb-in
AS 系列通讯端子配线信息如下:
种类 电源配线(AWG 剥线长度 扭力
单芯线 30 ~ 16 5 ~ 6 mm
2 kg-cm1.7 lb-in
多芯线 30 ~ 16 5 ~ 6 mm
2 kg-cm1.7 lb-in
Call 1(800)985-6929 for Sales
deltaacdrives.com
sales@deltaacdrives.com
Call 1(800)985-6929 for Sales
deltaacdrives.com
sales@deltaacdrives.com

Related product manuals