EasyManua.ls Logo

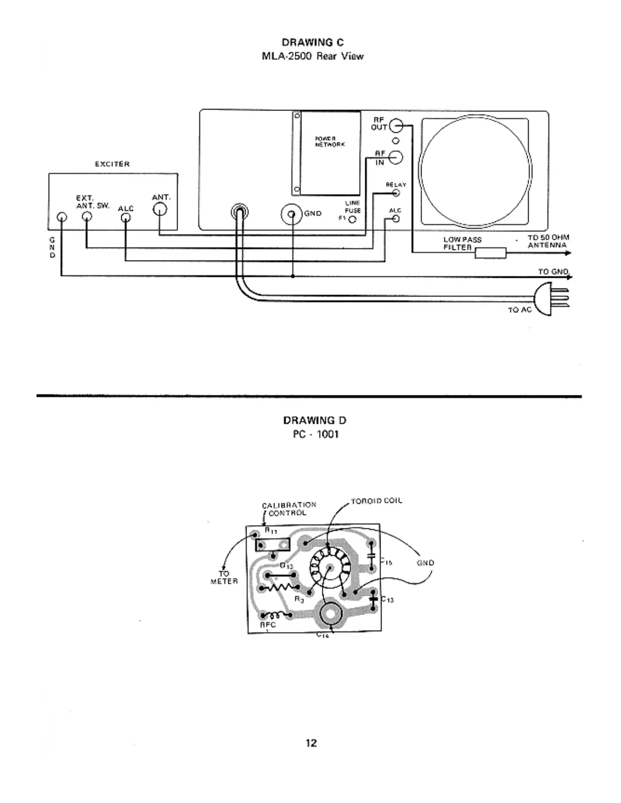
Dentron MLA 2500 - Rear View

Dentron MLA 2500
18 pages
Print Icon
To Next Page IconTo Next Page
To Next Page IconTo Next Page
To Previous Page IconTo Previous Page
To Previous Page IconTo Previous Page
Loading...

Related product manuals