EasyManua.ls Logo

Desa A, B, C - Mantel Clearances; Floor Clearances

Default Icon
40 pages
Print Icon
To Next Page IconTo Next Page
To Next Page IconTo Next Page
To Previous Page IconTo Previous Page
To Previous Page IconTo Previous Page
Loading...
104415
For more information, visit www.desatech.com
For more information, visit www.desatech.com
9
9
INSTALLATION
Continued
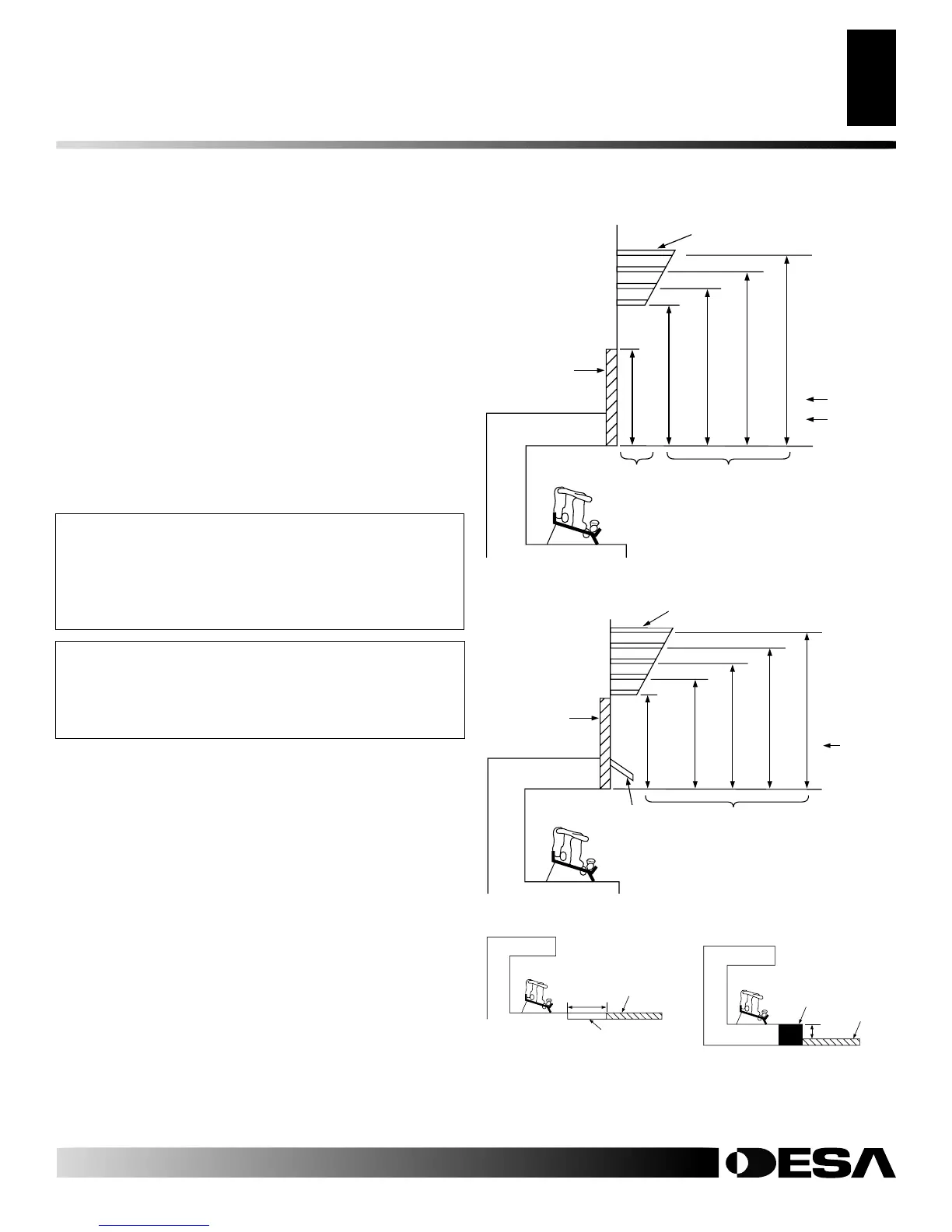
MANTEL CLEARANCES
In addition to meeting noncombustible material clearances, you must
also meet required clearances between fireplace opening and mantel
shelf. If you do not meet the clearances listed below, you will need a hood.
Determining Minimum Mantel Clearance
If you meet minimum clearance between mantel shelf and top of
fireplace opening, a hood is not required (see Figure 6).
Determining Minimum Mantel Clearance When
Using a Hood
If minimum clearances in Figure 6 are not met, you must have
a hood. When using a hood there are still certain minimum
mantel clearances required. Follow minimum clearances shown
in Figure 7 when using hood.
NOTICE: Surface temperatures of adjacent walls and
mantels become hot during operation. Walls and
mantels above the firebox may become hot to the
touch. If installed properly, these temperatures meet
the requirement of the national product standard.
Follow all minimum clearances shown in this manual.
NOTICE: If your installation does not meet the minimum
clearances shown, you must do one of the following:
operate the logs only with the flue damper open
raise the mantel to an acceptable height
remove the mantel
FLOOR CLEARANCES
A. If installing appliance on the floor level, you must maintain
the minimum distance of 14" to combustibles (see Figure 8).
B. If combustible materials are less than 14" to the fireplace, you
must install appliance at least 5" above the combustible floor-
ing (see Figure 9).
Figure 6 - Minimum Mantel Clearances Without Using Hood
14"
Min.
Combustible
Material
Non-Combustible
Material
Hearth
5"
Min.
Combustible
Material
Figure 8 - Minimum Fireplace
Clearances If Installed at Floor
Level
Figure 9 - Minimum Fireplace
Clearances Above
Combustible Flooring
Figure 7 - Minimum Mantel Clearances When Using Hood
Minimum Non-
Combustible
Material
Minimum Non-
Combustible
Material Height
Distances to
Underside of
Mantel
Top of Fireplace
Opening
Underside of
Mantel Shelf
12"
8"
(A)
18"
14"
20"
17"
22"
19"
24"
20"
All minimum
distances are
in inches
Log Set
24"/30" Models
18" Model
2
1
/2
"
6"
8"
10"
Mantel Shelf
Minimum Non-
Combustible
Material
8"
Min.
12" 15" 18"
All minimum
distances are
in inches
Log Sets
18", 24",
& 30" Models
20"
2
1
/2
"
6"
8"
10"
12"
Distances to
Underside of
Mantel
Hood
(GA6050, GA6052)
Top of Fireplace
Opening
Underside of
Mantel Shelf
Mantel Shelf
Noncombustible
Material
Hood
(GA6050, GA6052,
or GA6053)
INSTALLATION
Mantel Clearances
Floor Clearances

Related product manuals