EasyManua.ls Logo

Desa M36B - Page 10

Default Icon
32 pages
Print Icon
To Next Page IconTo Next Page
To Next Page IconTo Next Page
To Previous Page IconTo Previous Page
To Previous Page IconTo Previous Page
Loading...
www.desatech.com
108795-01V10
Maintain
Listed
Clearance
Maintain
Listed
Clearance
12' Min.
12' Min.
45°
45°
6'
8'
12' Min.
60°
45°
Position
Firestop
Position
Firestop
Position
Firestop
Listed
Vent Cap
Listed
Vent Cap
Listed
Vent Cap
Maintain
Listed
Clearance
Maintain
Listed
Clearance
Maintain
Listed
Clearance
Maintain
Listed
Clearance
Support Each
Lateral At
Least Every
6 Feet
Maintain
Listed
Clearance
10'
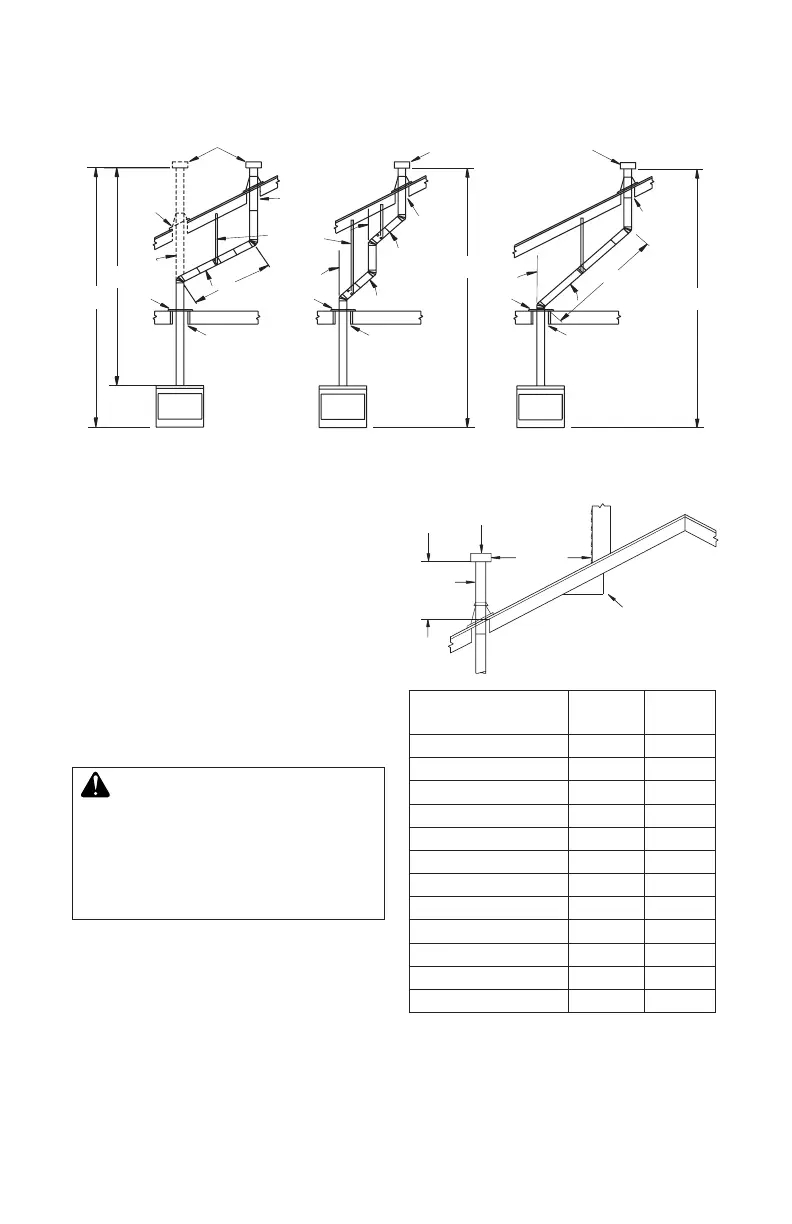
EXAMPLE 3EXAMPLE 2
EXAMPLE 1
Figure 10 - Typical B-Vent Conguration
VENTING INSTALLATION
Continued
Some codes areas allow the use of existing
B-type vent systems if the system is at or
above the recommended diameter of the ue,
in this case 6".
The ue connection must be made using
listed B-type connectors and the existing
system must be code inspected for damage
and proper installation.
It is not recommended that this appliance be
common vented with an existing gas burning
appliance.
Note: Before connecting this appliance to an
existing vent system consult with your local
architect, planner or building ofcial.
WARNING: This appliance
must be properly connected
to a system and must not be
connected to a chimney ue
servicing a separate solid fuel
burningappliance.
Lowest
Discharge
Opening
Listed
Ve nt Cap
8 Ft. Min.
Roof Pitch x/12
Listed Clearance
12
x
Listed
Gas
Ve nt
H (Min)
Height
From Roof
Roof Pitch
H(Min.)
Feet Meter
Flat to 6/12 1.0 ax 0.30
6/12 to 7/12 1.25 0.38
Over 7/12 to 8/12 1.5 0.46
Over 8/12 to 9/12 2.0 0.61
Over 9/12 to 10/12 2.5 0.76
Over 10/12 to 11/12 3.25 0.99
Over 11/12 to 12/12 4.0 1.22
Over 12/12 to 14/12 5.0 1.52
Over 14/12 to 16/12 6.0 1.83
Over 16/12 to 18/12 7.0 2.13
Over 18/12 to 20/12 7.5 2.27
Over 20/12 to 21/12 8.0 2.44
Figure 11 - B-Vent Terminations

Related product manuals