EasyManua.ls Logo

DewStop FS-875 - Control Functions and Settings; Control Functions Overview; Changing Timer Settings; Countdown Timer Function

DewStop FS-875
2 pages
Print Icon
To Previous Page IconTo Previous Page
To Previous Page IconTo Previous Page
Loading...
10
7
8
9
11
6
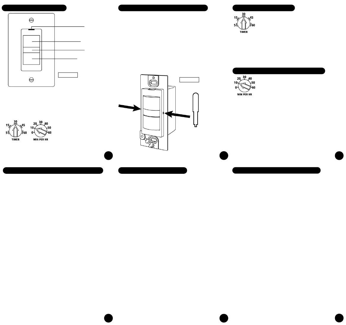
FIGURE #5
INCLUDED TOOL
Use to remove cover and
adjust settings dials.
BLUE LED LIGHT
TIMER SETTINGS
FAN ON/OFF
FIGURE #4
LIGHT ON/OFF
(E.) CONTROL FUNCTIONS
(J.) TESTING THE CONTROL
1. After you have completely installed this control,
selected your timer settings, and attached the wall
plate on the control, you can turn on the breaker to
apply power.
WARNING
: If the breaker trips or the fuse blows,
STOP and call a qualified electrician to investigate
the problem. Turn the breaker OFF until the
problem has been corrected.
2. Press the Fan ON/OFF button to see the fan turn
ON, press the button again to see the fan turn OFF.
Do the same for the Light ON/OFF button.
ELECTRICAL SHOCK WARNING:
This control is an automatic ON device. At no time
should a person work on the fan/light or any
appliance connected to this control without the
electrical circuit breaker or fuse switched OFF. One
of the control’s timers could turn ON the attached
device while the work is being performed. Always
disconnect the AC power before any work is done to
any part of the circuit this control is connected to. If
you do not understand this warning seek the
services of a qualified licensed electrician.
(I.) HOW BOTH TIMERS WORK TOGETHER
Credits: The MPH timer is also programmed to give
you "credits" for manual use. For example, if you
manually run the fan for 10 minutes, and the MPH timer
is set to 20 MPH, then the MPH timer will only run your
fan for 10 minutes over the next hour, because you've
already taken care of the rest. And this works within a
rolling 3 hour window of time. For example, if the MPH
timer is set to run your fan for 10 minutes per hour, and
you run your fan manually for 40 minutes, the MPH
timer will take 30 of the 40 minutes (discarding the
extra 10 minutes) and recognize that it doesn't need to
run the fan for the next three hours. And, if you run your
fan for 40 minutes again sometime within the next 3
hours, the MPH timer will roll that forward and again not
run your fan for the next 3 hours, starting from this
latest manual use.
Manual ON: If the MPH timer has your fan ON when
you want to use the countdown timer for a shower or
bath, pressing the "Fan ON/OFF" button twice will
cancel the MPH timer and start the countdown timer in
it's place.
Manual OFF: If the MPH timer has your fan ON, and
you manually turn it OFF, that cancels out the MPH
timer for the hour (the MPH timer will resume normal
function after one hour).
Blue LED Light: Lets you know when your fan is on
(especially useful for fans with low sound levels).
Light ON/OFF: Turns light ON and OFF.
Timer Settings: Countdown timer (left) and minutes
per hour (MPH) timer (right) settings (hidden behind a
removable cover ‒ see page 7 for details).
Fan ON/OFF: Turns countdown timer ON and OFF
(can be used to temporarily override the
MPH timer ‒ see page 9 for details).
(F.) CHANGING THE TIMER SETTINGS
By default, this control comes with the countdown timer
set to 30 minutes, and the MPH timer set to 0 minutes.
To change the settings, remove the "Timer Settings"
cover by taking off the face plate and then inserting the
end of the included tool (or a non-metal tool of your
own) into the two holes on either side of the control
(see FIGURE #5). Use the included tool to turn the
settings dials. The countdown timer can be set between
5‒60 minutes. The MPH timer can be set between
0‒60 minutes. Once you change a setting, the changes
will take effect after the next ON/OFF cycle, so it’s
recommended that you turn your fan ON then OFF
after you make a change to the settings.
(G.) COUNTDOWN TIMER
Pressing "Fan ON/OFF" switches the fan
(and the blue LED light) ON and OFF.
When the fan is turned ON manually, the
countdown timer will run your fan for your
selected period of time, then shut your fan
OFF for you. For optimal use, we
recommend adding together the time it
takes you to shower with the time it takes
your bathroom to dry off after you shower,
then using that total as your setting for this
timer.
(H.) MINUTES PER HOUR (MPH) TIMER
This timer runs your fan for a selected
amount of time every hour, to help ensure
good indoor air quality (it's also designed to
help you more easily comply with indoor air
quality standards). For example, set to "0",
the MPH timer will never turn on. Set to
"10", the MPH timer will turn your fan on
10 minutes every hour. Set to "60", the
MPH timer will run your fan all the time.
(L.) TWO-YEAR LIMITED WARRANTY
Go To Research Technologies, Inc. (GTR) warrants to the
original consumer purchaser of its products that such products
will be free from defects in materials & workmanship for a
period of two years from the date of original purchase. There
are no other warranties, express or implied, including but not
limited to, implied warranties of merchantability or fitness for a
particular purpose. During this two-year period, GTR will, at its
option, repair or replace, without charge, any product or part
which is found to be defective under normal use & service.
This warranty does not extend to fluorescent lamp starters &
tubes. This warranty does not cover (a) normal maintenance &
service or (b) any maintenance or repair, faulty installation or
installation contrary to recommended installation instructions.
The duration of any implied warranty is limited to the two-year
period as specified for the express warranty. Some areas do
not allow limitation on how long an implied warranty lasts, so
the above limitation may not apply to you. GTR’s obligation to
repair or replace, at GTR’s option, shall be the purchaser's
sole & exclusive remedy under this warranty. GTR shall not be
liable for incidental, consequential, or special damages arising
out of or in connection with product use or performance. Some
areas do not allow the exclusion or limitation of incidental or
consequential damages, so the above limitation may not apply
to you. This warranty gives you specific legal rights, & you may
also have other rights, which vary from area to area. This
warranty supersedes all prior warranties. To qualify for
warranty service, you must (a) notify GTR at the address
stated below or via our website at www.DewStop.com, (b) give
the model number & part number identification, & (c) describe
the nature or any defect in the product or part. At the time of
requesting warranty service, you must present evidence of the
original purchase date.
Go To Research Technologies, Inc.
www.DewStop.com