EasyManua.ls Logo

Digitus DA-90407 - Page 5

Digitus DA-90407
11 pages
Print Icon
To Next Page IconTo Next Page
To Next Page IconTo Next Page
To Previous Page IconTo Previous Page
To Previous Page IconTo Previous Page
Loading...
5
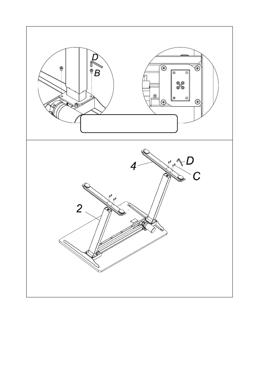
Step 2) Install the feet
Connect lifting columns to the feet ④, tighten the screws C with allen key D.
+ Tighten the screws (B) with 4*4
allen key

Related product manuals