EasyManua.ls Logo

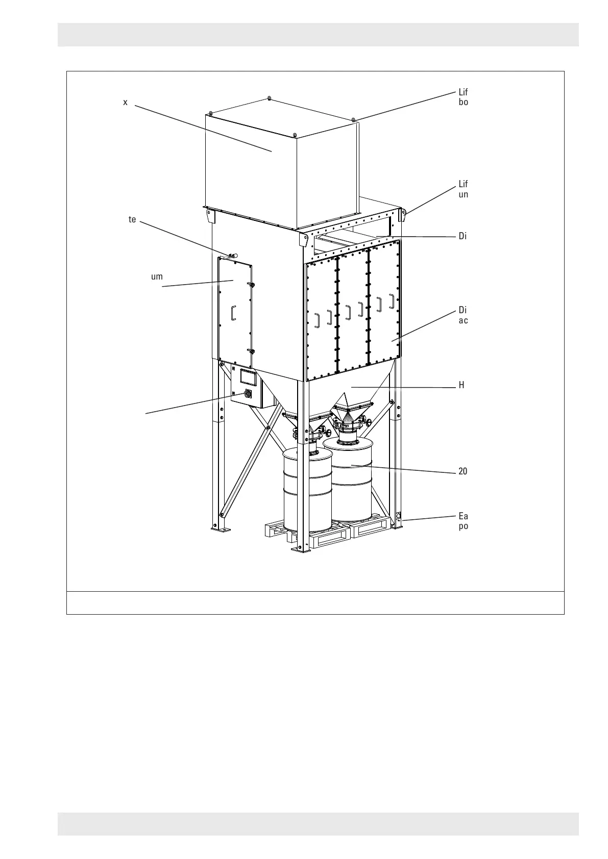
Donaldson DFPRE 4L - Figure 1: DFPRE Dust Collector. Model DFPRE 9 L Standard Illustrated

Donaldson DFPRE 4L
35 pages
Print Icon
To Next Page IconTo Next Page
To Next Page IconTo Next Page
To Previous Page IconTo Previous Page
To Previous Page IconTo Previous Page
Loading...
Installation, Operation and Maintenance manual
7
DFPRE Large Dust Collectors
200 L dust drum
Clean air plenum
access door
Fan box
Slide gate
handle
Lifting lugs for fan
box
Lifting bracket for
unit
Dirty air plenum
access door
Dirty air inlet
Hopper
Earthing
point
Powerbox
Figure 1: DFPRE dust collector. Model DFPRE 9L Standard illustrated

Related product manuals