EasyManua.ls Logo

Dostmann Electronic P750 - 6 Connector Layout

Dostmann Electronic P750
28 pages
Print Icon
To Next Page IconTo Next Page
To Next Page IconTo Next Page
To Previous Page IconTo Previous Page
To Previous Page IconTo Previous Page
Loading...
24
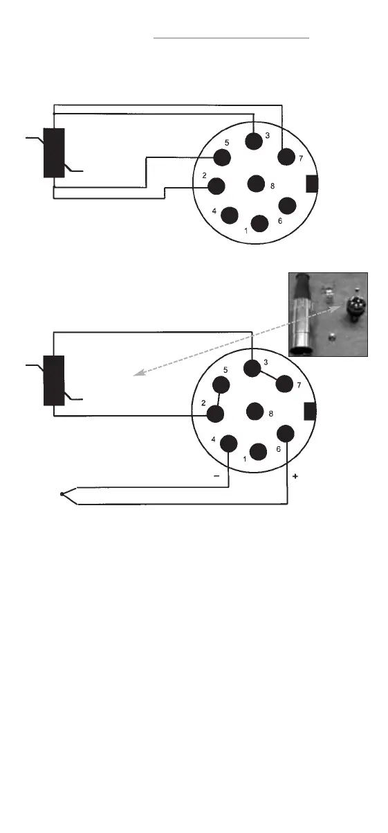
6. Connector layout
Connector layout Pt100 4-wire
Measuring channel 1 /2
Pt100 4-Wire
Soldering
Side
Connector layout thermocouple
Measuring channel 1 /2
Pt100 2-Wire
In the plug
NiCr-Ni thermocouple
International colours of thermocouples
Thermocouple DIN 43 722 DIN 43 710 ANSI MC 96.1
Type R orange white green
Pt13Rh-Pt + orange – white + red - white + black - red
Type S orange white green
Pt10Rh-Pt + orange – white + red - white + black - red
Type J black black
Fe-CuNi + black - white + white - red
Type T brown blue
Cu-CuNi + brown - white + blue - red
Type K green ....green yellow
NiCr-Ni + green - white + red - green + yellow - red
Type N rosa
NiCrSi-NiSi + pink - white
Type L brown
Fe-CuNi + red - blue
Soldering
Side

Other manuals for Dostmann Electronic P750

Related product manuals