EasyManua.ls Logo

Dri-Eaz Dragon K85 - Parts Identification; Accessories Included

Dri-Eaz Dragon K85
19 pages
Print Icon
To Next Page IconTo Next Page
To Next Page IconTo Next Page
To Previous Page IconTo Previous Page
To Previous Page IconTo Previous Page
Loading...
07-00407 E 08/2006 Copyright 2006 Dri-Eaz Products, Inc.
2
Dragon by just 10°F (from 60°F to 70°F) can increase
the evaporative potential of your existing drying system
up to 45 percent.
The specific target drying temperature will vary
according to the conditions of each drying job.
Determining, creating, and maintaining the optimum
drying conditions on a job—including temperature and
relative humidity—is your responsibility.
For best results when using the Dragon for drying,
you should understand the basic principles of
psychrometry—the science of drying. You should also
know how to use moisture detection instruments to track
the moisture content of a structure throughout the entire
drying process. You can learn these skills and more in
an IICRC-certified Applied Structural Drying (ASD)
course. To learn more about ASD courses, contact the
Dri-Eaz Education Department at 1-800-575-5152.
With this in mind, there are some general principles to
keep in mind when using the Dragon. You should try to
stabilize the temperature of the affected area near the
ideal operating temperature of your drying equipment.
Most dehumidifiers perform at their best between 70°F to
90°F. The added heat from the Dragon will increase the
rate of evaporation by decreasing the relative humidity of
the affected area. Be certain that your combination of
airmovers and dehumidifiers is powerful enough to keep
the relative humidity well below 60%RH to avoid
secondary damage to the structure and contents.
Accessories Included
The Dragon K85 Mobile Furnace includes the following
parts and accessories:
1
Dragon K85 Mobile Furnace
1
Flue with cap
1
Remote thermostat
1
External fuel siphon
2
30-ft ducting (8-in diameter)*
2
Duct clamps
2
2-ft heat shields (10-in diameter)
*Replacement ducting can be obtained
from Grainger (Part #3XK06). For more
information, go to www.grainger.com
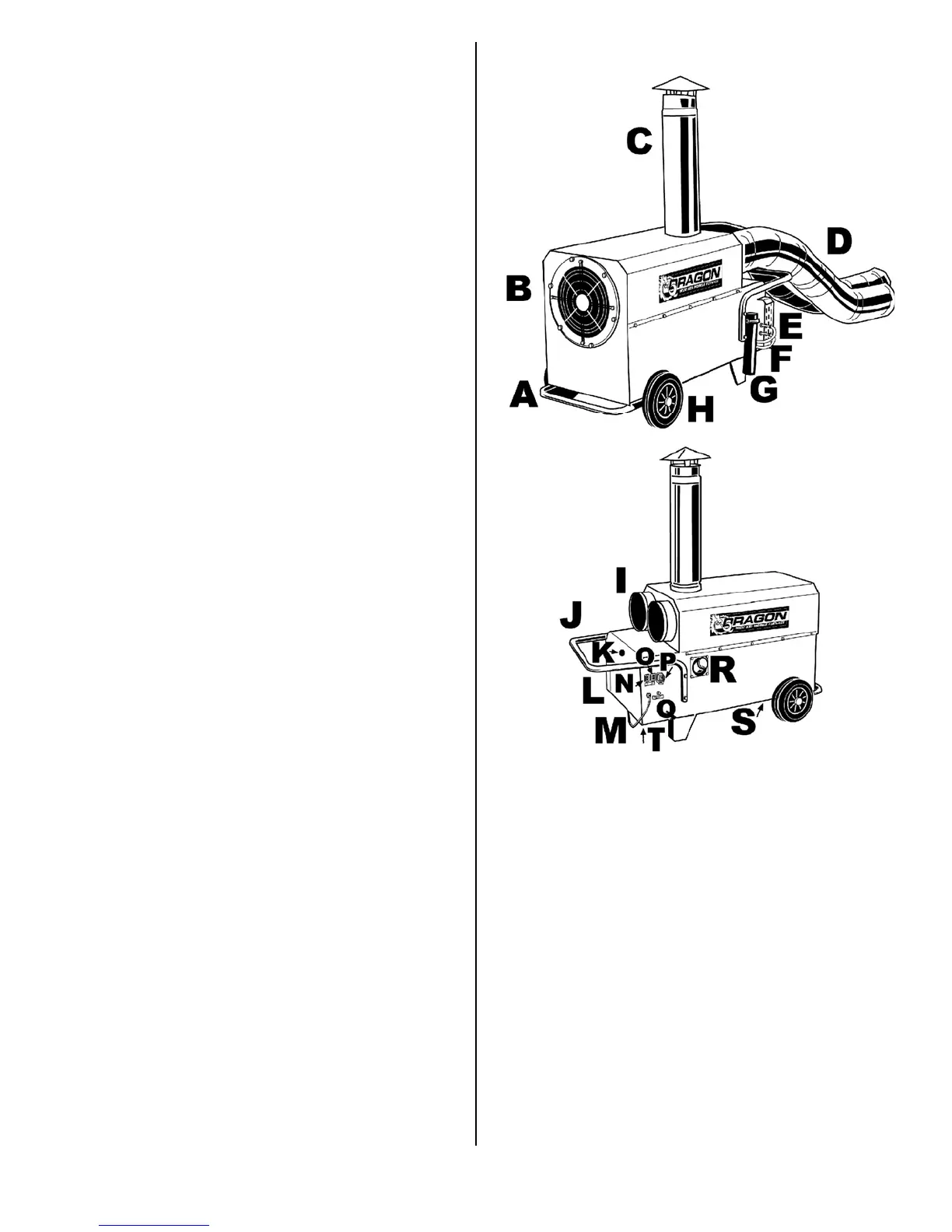
Parts Identification
A
Rear Handle
B
Air Intake Grill
C
Flue
D
Ducting
E
Fuel line guard plate
F
Internal tank fuel lines
G
External fuel siphon holder
H
Wheels
I
Duct rings
J
Front handle/cord wrap
K
Flame Control Reset Button
L
Fuel pump/blower assembly housing
M
Power cord
N
FAN switch
O
HEAT switch
P
Thermostat jack
Q
Temperature-Limiter Reset Button
R
Internal fuel tank fill neck
S
Internal fuel tank drain plug
T
Air Intake vents