EasyManua.ls Logo

DTX Vortex - Grounding and Extension Cord Safety

DTX Vortex
16 pages
Print Icon
To Next Page IconTo Next Page
To Next Page IconTo Next Page
To Previous Page IconTo Previous Page
To Previous Page IconTo Previous Page
Loading...
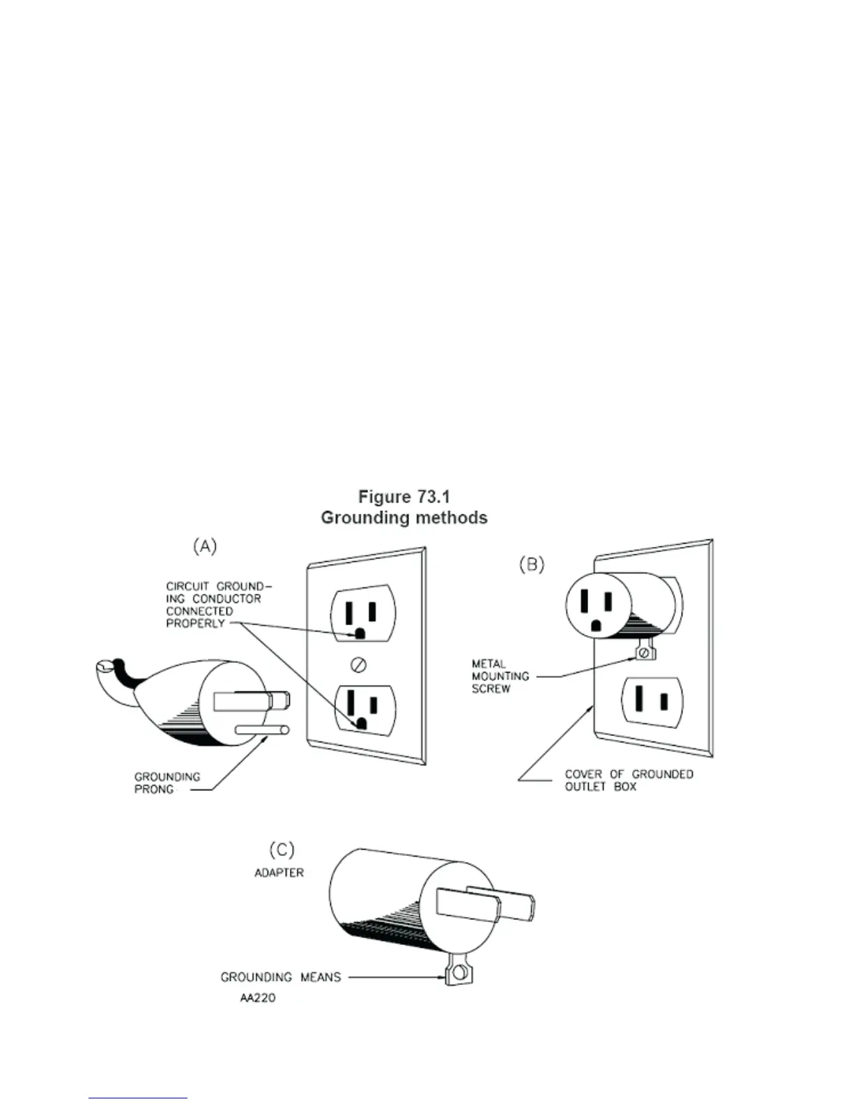
GROUNDING INSTRUCTIONS
EXTENSION CORDS
This appliance must be grounded while in use to protect the operator from electrical shock. The
appliance is equipped with a 3-conductor cord and a 3-prong grounding-type plug to fit the proper
grounding-type receptacle. The machine has a plug that looks like sketch A in Figure 73.1. An adaptor,
sketch B, should be used for connecting sketch-A plugs to two-prong receptacles,
The
grounding tab which extends from the adaptor must be connected to a permanent ground such as a
properly grounded outlet box as shown in sketch C using a metal screw.
Use only 3-wire extension cords which have 3-prong grounding-type plugs and 3-pole cord connectors
that accept the plug from the appliance. Use only extension cords having an electrical rating not less
than the rating of the appliance. Do not use damaged extension cords. Examine extension cord before
using and replace if damaged. Do not abuse extension cord and do not yank on any cord to disconnect.
Keep cord away from heat and sharp edges.
BUT WE DO NOT
RECOMMEND THIS. THE MANUFACTURER IS NOT RESPONSIBLE FOR LOSS OR INJURY
RESULTING FROM IMPROPER GROUNDING OR MISMATCHED ELECTRICAL SUPPLIES.
4
Copyright 2012 DTX International All Rights Reserved

Related product manuals