EasyManua.ls Logo

EBA 435 E - Page 8

EBA 435 E
48 pages
Print Icon
To Next Page IconTo Next Page
To Next Page IconTo Next Page
To Previous Page IconTo Previous Page
To Previous Page IconTo Previous Page
Loading...
- 8 -
EBA 435 E • EBA 435 EP
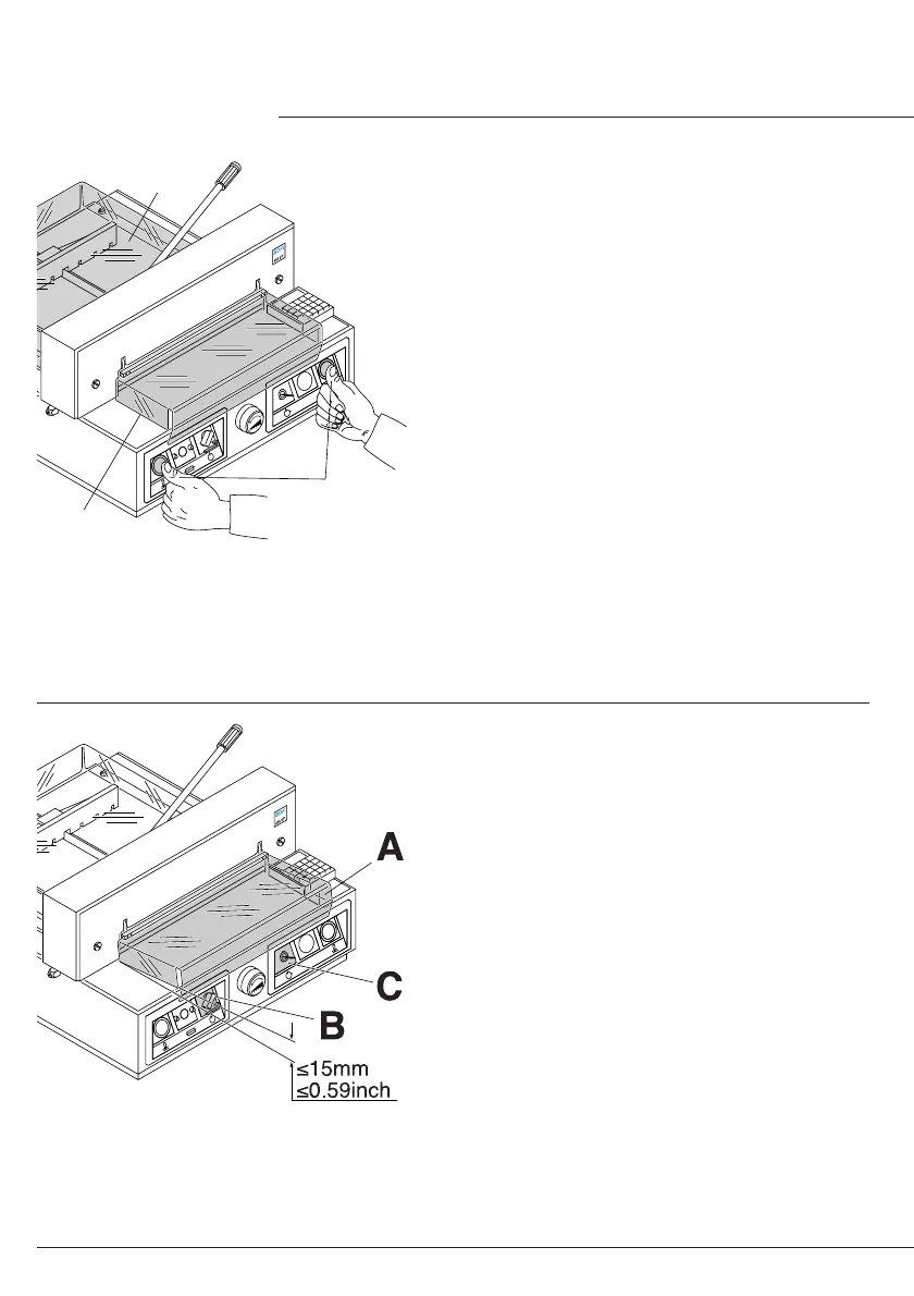
A
C
B
The dangerous cutting movement is
safeguarded by a movable guard (A), rear
screwed safety guard (B) and a safety
two-handed control system! (C)
Before working with the machine and after
every blade replacement the automatic cut-off
function of safety guard (A),(correct if distance
between cover and table is < 15 mm) main
switch (B) and control panel (C) must be
checked.
Safety precautions

Related product manuals