EasyManua.ls Logo

ECG OV 124 - Věk

ECG OV 124
Print Icon
To Next Page IconTo Next Page
To Next Page IconTo Next Page
To Previous Page IconTo Previous Page
To Previous Page IconTo Previous Page
Loading...
CZ
7
(1) Nastavení osobních údajů
1. Po prvním vložení baterie azapnutí jsou parametry nastaveny na následující výchozí hodnoty:
Paměť Pohla Výška Věk
1Mužské165 cm25
2. Parametry lze nastavit vnásledujícím rozsahu:
Paměť Pohla Výška Věk
1 ~ 12 mužské/ženské 100 ~ 250 cm 10 ~ 100
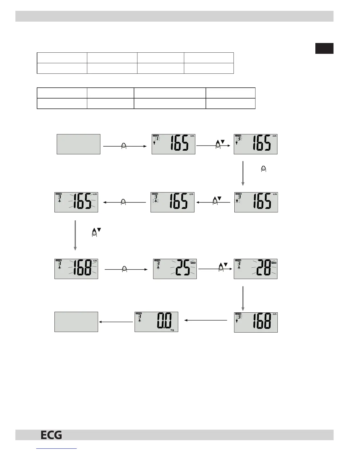
3. Nastavení parametrů
Příklad: Uživatel č. 3, žena, 168 cm, 28 let může nastavit své osobní údaje následovně:
Stiskem vážní plochy
váhu zapněte
Dlouhým stiskem SET
přejděte knastavení
parametrů
Stiskem SET
Stiskem SET
Stiskem SET
Stiskem
Stiskem
Stiskem
Stiskem
Bliká číslo uživatele
vyberte číslo
uživatele
potvrďte apokračujte
dalším nastavením
potvrďte apokračujte
dalším nastavením
potvrďte apokračujte
dalším nastavením
vyberte pohlaví
nastavte věk
nastavte výšku
Číslo uživatele přestane
blikat azobrazí se „0.0
Automatické vypnutí po
r vteřinách
Znovu se rozbliká číslo uživatele.
Opakováním procedury můžete nastavit
dalšího uživatele nebo klepnutím na váž
plochu nastavení ukončit auložit parametry
ivatele do paměti.
Vypnutá váha
Bliká symbol pohlaví
Bliká údaj výšky
Bliká věk uživatele
Stiskněte SET
Klepněte na vážní plochu
nebo vkejte několik vteřin.
Poznámka:
Pokud zadávání osobních údajů na několik vteřin přerušíte, budou již zadané parametry automaticky
uloženy do paměti ana displeji se zobrazí „0, což znamená, že lze spustit měření obsahu tělesného tuku.
Pokud se během zadávání parametrů objeví na displeji „0“, můžete se dlouhým stiskem tlačítka SET vrátit
do režimu nastavení osobních údajů azadat číslo uživatele, pohlaví, výšku avěk.

Related product manuals