EasyManua.ls Logo

Ego Power+ LBX6000 - Air Speed Control and Maintenance; Adjusting Air Speed and LED Indicators

Ego Power+ LBX6000
28 pages
Print Icon
To Next Page IconTo Next Page
To Next Page IconTo Next Page
To Previous Page IconTo Previous Page
To Previous Page IconTo Previous Page
Loading...
56 VOLT LITHIUM-ION CORDLESS BLOWER — LBX6000 9
EN
MAINTENANCE
WARNING: When servicing, use only identical
replacement parts. Use of any other parts may create a
hazard or cause product damage. To ensure safety and
reliability, all repairs should be performed by a qualified
service technician.
WARNING: To avoid serious personal injury, always
remove the battery pack from the product when cleaning
or performing any maintenance.
GENERAL MAINTENANCE
Avoid using solvents when cleaning plastic parts. Most
plastics are susceptible to damage from various types of
commercial solvents and may be damaged by their use.
Use clean cloths to remove dirt, dust, oil, grease, etc.
WARNING: Do not at any time let brake fluids,
petrol, petroleum-based products, penetrating oils,
etc., come in contact with plastic parts. Chemicals can
damage, weaken or destroy plastic which may result in
serious personal injury.
STORAGE
Clean all foreign material from the air inlets of the
blower.
Store indoors in a place that is inaccessible to children.
Keep away from corrosive agents, such as garden
chemicals and de-icing salts.
To Stop
Release the air-speed trigger to stop the blower.
TO ADJUST THE AIR SPEED
The blower is equipped with an air-speed indicator, indicating
the maximum air speed level. Start the blower to display the
maximum air speed level. A short-press on the boost button
will change the maximum air speed level, while tapping and
holding on the boost button will turn the boost function on.
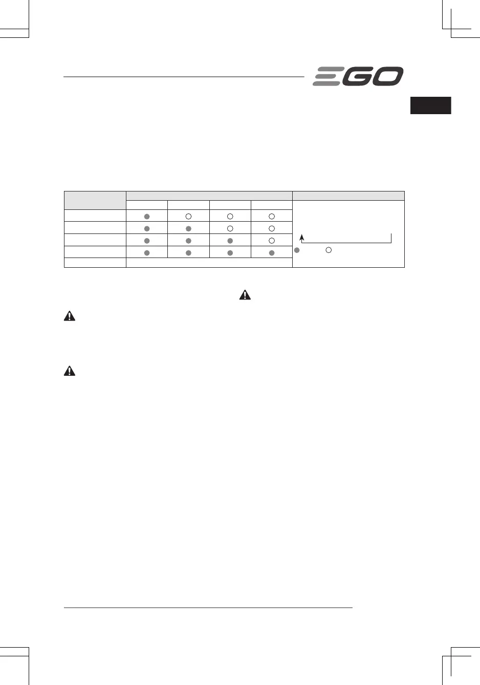
LED FUNCTION AND AIR SPEED LEVEL
AIR SPEED LEVEL
LED ON THE BLOWER REMARK
LED1 LED2 LED3 LED4
Flowing water light:
Level 1 Level 2 Level 3 Level 4
: On : Off
LEVEL 1
LEVEL 2
LEVEL 3
LEVEL 4
BOOST Flowing water light

Other manuals for Ego Power+ LBX6000

Related product manuals