EasyManua.ls Logo

Electrolux EEM48300IX - Control Panel

Electrolux EEM48300IX
28 pages
Print Icon
To Next Page IconTo Next Page
To Next Page IconTo Next Page
To Previous Page IconTo Previous Page
To Previous Page IconTo Previous Page
Loading...
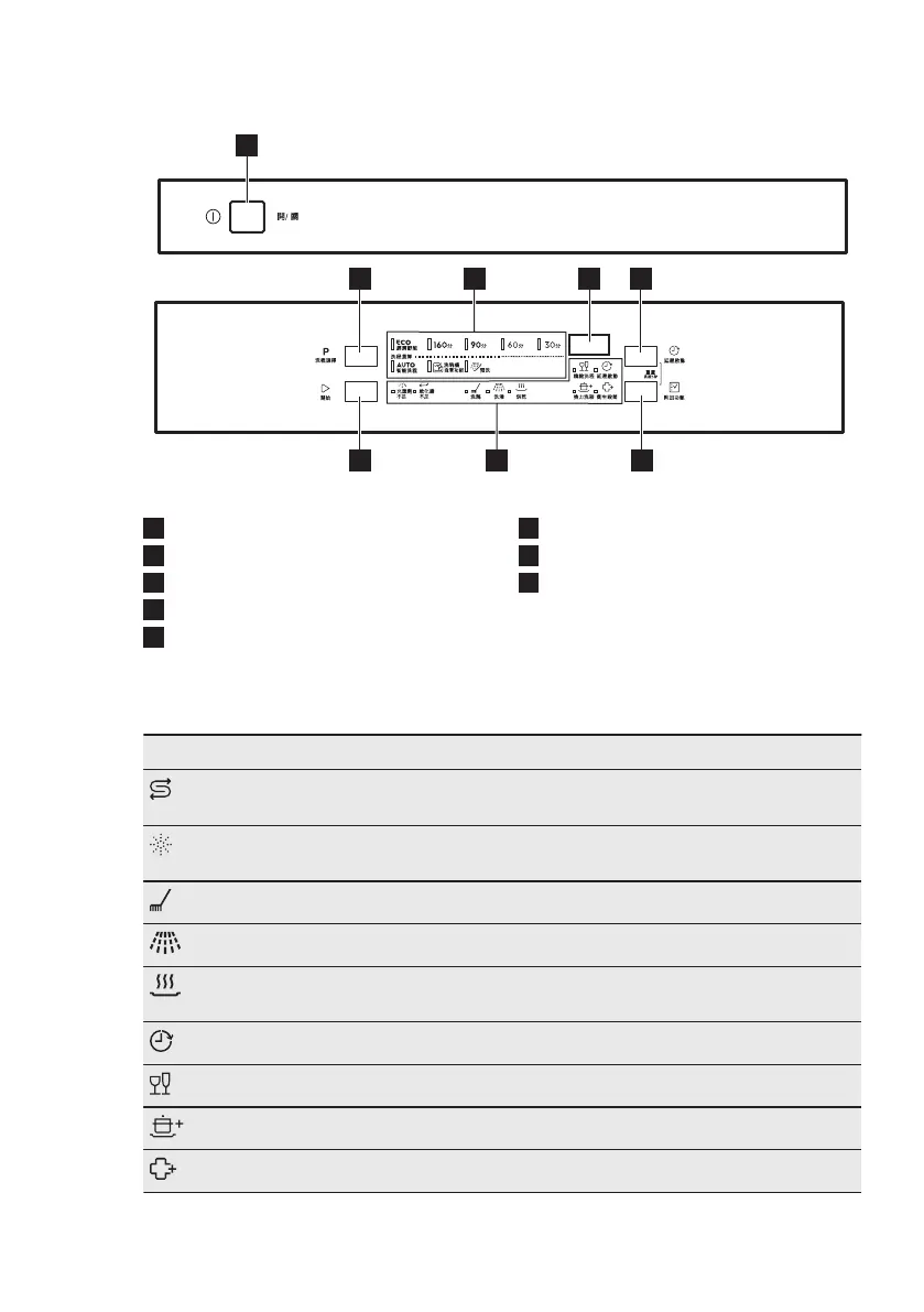
4. CONTROL PANEL
1
2 4 5
68
3
7
1
On/off button
2
洗程選擇 button
3
Programme indicators
4
Display
5
延遲啟動 button
6
附加功能 button
7
Indicators
8
開始 button
4.1 Indicators
Indicator Description
Salt indicator. It is on when the salt container needs refilling. It is al‐
ways off while the programme operates.
Rinse aid indicator. It is on when the rinse aid dispenser needs refill‐
ing. It is always off while the programme operates.
Washing phase indicator. It is on when the washing phase operates.
Rinsing phase indicator. It is on when the rinsing phase operates.
Drying phase indicator. It is on when you select a programme with the
drying phase. It flashes when the drying phase operates.
延遲啟動 indicator. It is on when you set the delay start.
精緻洗程 indicator.
強力洗程 indicator.
衛生殺菌 indicator.
ENGLISH 7

Related product manuals