EasyManua.ls Logo

Electrolux EFGP12680X - Page 120

Electrolux EFGP12680X
196 pages
Print Icon
To Next Page IconTo Next Page
To Next Page IconTo Next Page
To Previous Page IconTo Previous Page
To Previous Page IconTo Previous Page
Loading...
www.electrolux.com
120
Distanţa minimă între suprafaţa suportului
recipientelor pe dispozitivul de gătit şi
partea de jos a hotei nu trebuie să e mai
mică de 70cm în cazul maşinilor de gătit
electrice, şi de 80cm în cazul maşinilor de
gătit cu gaz sau mixte. Dacă instrucţiiunile
dispozitivului de gătit cu gaz specică o
distanţă mai mare, este necesar să ţineţi
cont de aceasta.
Atenţie! Montajul şi conectarea la reţea
trebuie să fie efectuate numai de către
personal autorizat.
Notă: Hota este echipată cu o funcţie
de conectare wireless cu plita de gătit
pentru reglajul automatic al vitezei celei
mai adecvate. Consultati manualul de
instrucțiuni al plitei de gătit pentru a verica
prezenta şi compatibilitatea acestei funcţii.
In cazul primei conexiuni la reţeaua
electrică sau in caz de intrerupere bruscă
a curentului electric (pană de curent),
aşteptaţi 1 minut pentru a permite hotei să
restabilească legătura cu plita de gătit.
4. ÎNTREŢINERE
Atenţie! Înainte de orice intervenţie
de curăţenie şi întreţinere, deconectaţi
hota de la reţeaua electrică,
scoţând ştecherul sau deconectând
întrerupătorul general al locuinţei.
Hota trebuie curăţată frecvent (cel puţin
cu aceeaşi frecvenţă cu care se curăţă
ltrele anti-grăsime), e în interior cât şi în
exterior. Pentru curăţare folosiţi un material
îmbibat cu detergenţi lichizi neutri. Evitaţi
folosirea produselor pe bază de abrazivi
NU FOLOSIŢI ALCOOL!
Atenţie! Nerespectarea normelor de
curăţare a hotei şi de înlocuire a ltrelor
conduce la potenţiale riscuri de incendii.
Vă sfătuim să respectaţi îndeaproape
instrucţiunile prezente în acest manual.
Producătorul îşi declină orice
responsabilitate în cazul daunelor la motor
sau incendiilor provocate aparatului şi
derivate dintr-o utilizare sau întreţinere
incorectă precum şi din nerespectarea
instrucţiunilor conţinute în acest manual.
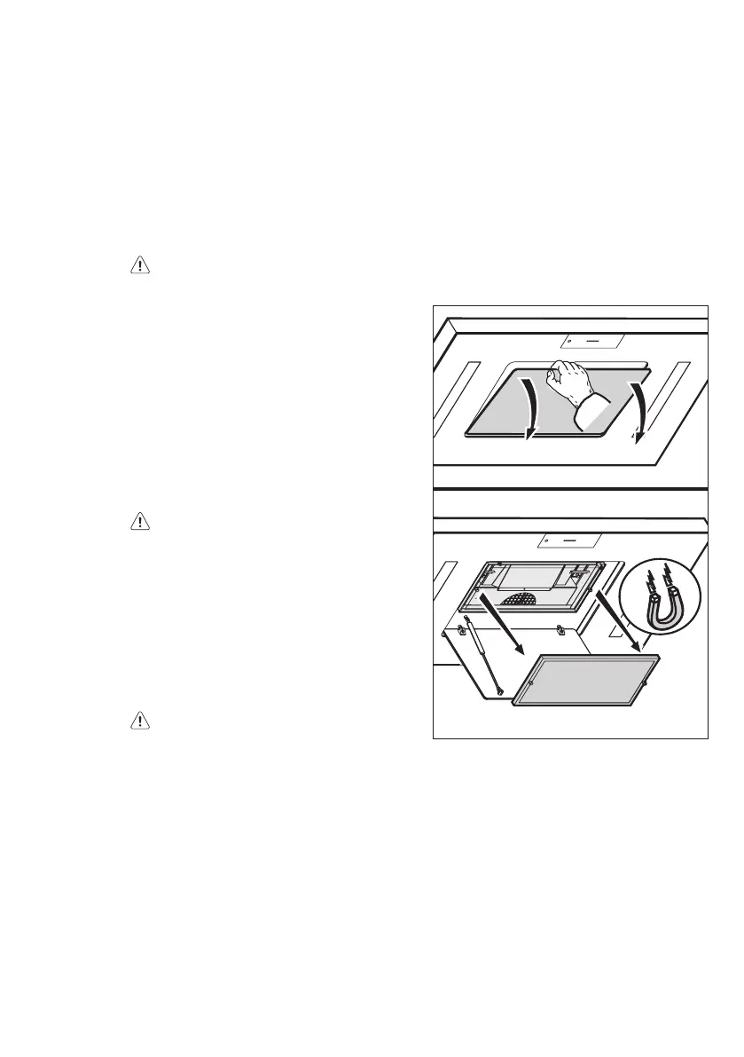
4.1 Filtru anti-grăsimi - Trebuie să e
curăţat o dată pe lună (sau când sistemul
de semnalare a saturaţiei ltrelor – dacă
modelul dvs. este prevăzut – indică această
necesitate), cu detergenţi neabrazivi,
manual sau utilizând maşina de spălat
vase, la temperaturi scăzute şi folosind un
program scurt.
Filtrul metalic anti-grăsimi, spălat cu maşina
de spălat vase se poate decolora, dar nu-şi
va pierde caracteristicile de ltrare.

Table of Contents