EasyManua.ls Logo

Electrolux EHT8M - Electrical Connections

Electrolux EHT8M
36 pages
Print Icon
To Next Page IconTo Next Page
To Next Page IconTo Next Page
To Previous Page IconTo Previous Page
To Previous Page IconTo Previous Page
Loading...
22
F7 Electrical connections
Connection to the power supply must be carried out in
conformity with the current regulations and provisions
in the country of use.
Make sure the machine power supply voltage spec-
ified on the rating plate (Table 1) matches the
mains voltage.
Make sure the system power supply is arranged
and able to take the actual current load and that it is
executed in a workmanlike manner according to the
regulations in force in the country of use.
The earth wire at the terminal end must be longer
(max. 20 mm) than the phase wires.
Connect the earth wire of the power supply cable to
an efficient earth clamp. The appliance must also
be included in a unipotential system, the con
-
nection being made through the screw “EQ” (see
pargraph
F6.2 Installation diagrams) marked with
the symbol “ ”. The unipotential wire must have a
cross section of 10 mm
2
.
Power supply 380-415V 3N
(standard configuration)
Figure 11 380-415V 3N
Open the power supply terminal board and insert the
jumpers provided as follows: two jumpers between ter-
minals 2 and 4 and two between terminals 4 and 6.
Using a suitable power supply cable (see technical data
table), connect the three phases to terminals 1, 3 and 5,
the neutral to terminal 6 and the earth wire to the termi-
nal .
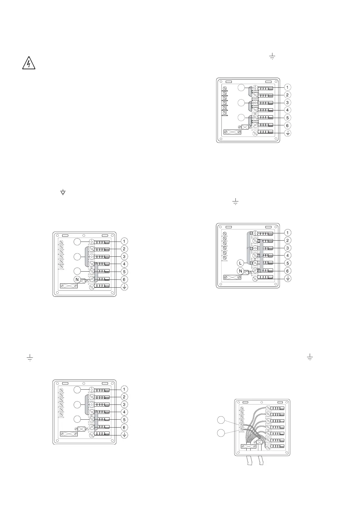
Power supply 400-440V 3
Figure 12 400-440V 3
Open the power supply terminal board and insert the
jumpers provided as follows: two jumpers between ter-
minals 2 and 4 and two between terminals 4 and 6.
Using a suitable power supply cable (see technical data
table), connect the three phases to terminals 1, 3 and 5
and the earth wire to the terminal .
Power supply 220-240V 3
Figure 13 220-240V 3
Open the power supply terminal board and insert the
jumpers provided as follows: one jumper between termi-
nals 1 and 2, one between terminals 3 and 4 and
another between terminals 5 and 6. Using a suitable
power supply cable (see technical data table), connect
the three phases to terminals 1, 3 and 5 and the earth
wire to the terminal .
Power supply 220-240V 1N
Figure 14 220-240V 1N
Open the power supply terminal board and insert the
jumpers provided as follows: two jumpers between termi-
nals 1 and 3, two jumpers between terminals 2 and 4, one
jumper between terminals 3 and 5 and another two
between terminals 4 and 6.
Using a suitable power supply cable (see technical data
table), connect the phase and neutral to terminals 5 and
6 respectively and the earth wire to the terminal .
F8 Energy control arrangement
The machine is arranged for external control of energy
consumption.
Figure 15 Energy control
IMPORTANT!
Work on the electrical systems must
only be carried out by a qualified electri-
cian.
L1
L2
L3
L1
L2
L3
11
12

Table of Contents

Related product manuals