EasyManua.ls Logo

Electrolux ENB43499W - Kontrol Paneli

Electrolux ENB43499W
90 pages
Print Icon
To Next Page IconTo Next Page
To Next Page IconTo Next Page
To Previous Page IconTo Previous Page
To Previous Page IconTo Previous Page
Loading...
Cihaz monte edildikten sonra elektrik pri-
zinin erişilebilir konumda kaldığından emin
olun.
Sadece içilebilir kalitedeki su kaynaklarına
bağlayın.
29)
Servis
•Cihazın servis işlemi için yapılması gere-
ken elektrikle ilgili herhangi bir iş, kalifiye
bir elektrikçi veya uzman bir kişi tarafın-
dan yapılmalıdır.
Bu ürünün servis işlemleri yetkili servis ta-
rafından yapılmalı ve sadece orijinal yedek
parçalar kullanılmalıdır.
Çevre Koruması
Bu cihazın soğutucu devresinde ve yalı-
tım malzemelerinde ozon tabakasına
zarar veren gazlar bulunmaz. Bu cihaz,
kentsel atıklar ve çöplerle birlikte atılma-
malıdır. Yalıtım köpüğü yanıcı gazlar
içerir: cihaz, yerel yetkili makamlarınız-
dan bilgi edinebileceğiniz yürürlükteki
kanunlara uygun olarak elden çıkartıl-
malıdır. Soğutma ünitesine, özellikle ısı
eşanjörü yakınındaki kısma zarar gel-
mesini önleyin. Bu cihazda kullanılan ve
simgesiyle işaretli olan malzemeler
geri dönüşümlüdür.
Üretici / İhracatçı :
ELECTROLUX HOME PRODUCTS
CORPORATION NV.
RAKETSTRAAT 40 / RUE DE LA FUSEE 40
B-1130 BRUSSEL / BRUXELLES
BELGIUM
TEL: +32 2 716 26 00
FAX: +32 2 716 26 01
www.electrolux.com
Kullanım Ömrü Bilgisi :
Kullanım ömrü küçük ev aletlerinde 7 yıl,
diğer beyaz eşya ürünlerinde ise 10 yıldır.
Kullanım ömrü, üretici ve/veya ithalatçı
firmanın cihazınızla ilgili yedek parça temini
ve bakım süresini ifade eder.
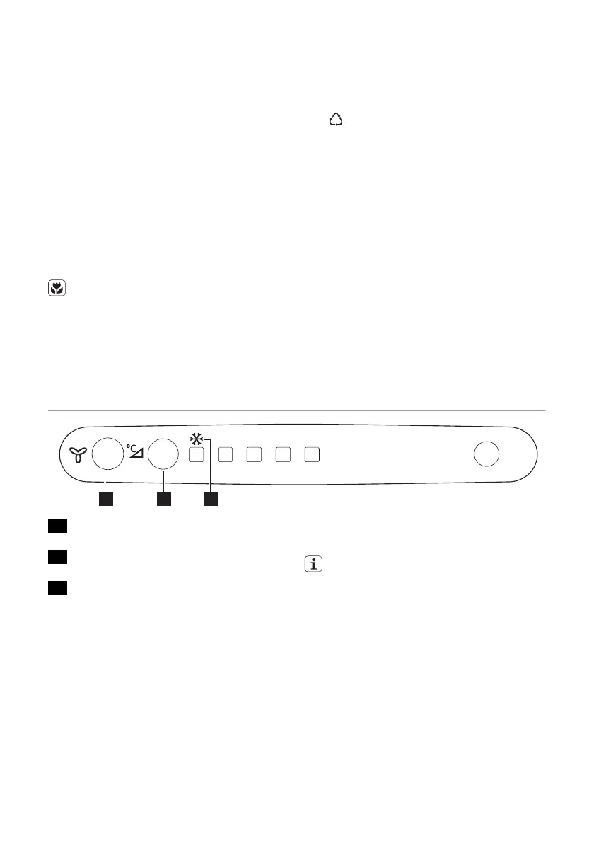
KONTROL PANELİ
+2 +4 +5 +6 +8
21 3
1 Fan fonksiyon düğmesi
Fan ışığı
2 Sıcaklık ayar düğmesi
Action Freeze tuşu
3 Action Freeze göstergesi
Açma
Eğer varsa, buzdolabının iç kısmındaki eti-
keti çıkarın.
Fişi prize takın.
Kapatma
Cihazı kapatmak için, fişini prizden çekin.
Sıcaklık ayarlaması
Sıcaklık otomatik olarak ayarlanır.
Cihazı çalıştırmak için aşağıdaki işlemleri ya-
pın:
istenilen sıcaklığa karşılık gelen LED yana-
na kadar sıcaklık ayar düğmesine ardı ar-
dına basın. Seçim ilerleyen bir şekilde,
+2°C'den +8°C'ye kadar artar.
Orta düzeyde bir ayar, genelde en uy-
gun olanıdır.
Ancak tam ayar, cihazın içindeki sıcaklığın
aşağıdaki unsurlara bağlı olduğu dikkate alı-
narak seçilmelidir:
•Oda sıcaklığı
•Cihaz kapısını açma sıklığı
Cihaza konan yiyecek miktarı
•Cihazın konumu.
Önemli Eğer ortam sıcaklığı 16°C'den
şükse, en düşük sıcaklığın LED ışığı
yanıncaya kadar sıcaklık ayar düğmesine
basın.
Action Freeze fonksiyonu
Action Freeze fonksiyonunu Action Freeze
sembol göstergesine karşılık gelen LED ya-
29) Eğer bir su bağlantısı varsa.
74 electrolux

Table of Contents

Related product manuals