EasyManua.ls Logo

Electrolux ENP7MD19S - Uso Diario

Electrolux ENP7MD19S
Print Icon
To Next Page IconTo Next Page
To Next Page IconTo Next Page
To Previous Page IconTo Previous Page
To Previous Page IconTo Previous Page
Loading...
El modo Rest permanece activo cuando
se restablece la energía después de un
corte del suministro.
Sabbath modo
El modo Sabbath desactiva algunas de
las funciones del aparato de acuerdo con
el Sabbat semanal y otras festividades
religiosas.
En este modo:
todos los botones se bloquean, salvo
la combinación de botones necesaria
para desactivar este modo
el sonido se silencia, salvo la Alarma
de temperatura alta sonora
la pantalla no muestra ningún
indicador de alarma salvo para
Alarma de temperatura alta
Para activar el modo Sabbath:
1. Active el modo de ajuste (consulte
"Activación del modo de ajuste").
La pantalla muestra
.
2. Pulse repetidamente hasta que
vea y . Pulse para activar
o desactivar el modo Sabbath. El
indicador cambia a con el modo
Sabbath activado o a si este está
desactivado.
3. Mantenga pulsado el botón ECO
durante 3 segundos
aproximadamente para salir del
modo de ajuste.
Después de activar el modo Sabbath, la
pantalla muestra el indicador ECO y .
El acceso a cualquier otro ajuste queda
bloqueado.
Mantenga pulsado el botón ECO durante
3 segundos aproximadamente para
apagar el modo Sabbath.
Ajustes de fábrica
Esta función restaura cada ajuste a los
ajustes predeterminados de fábrica. Para
restaurar los ajustes predeterminados de
fábrica:
1. Active el modo de ajuste (consulte
"Activación del modo de ajuste").
La pantalla muestra
.
2. Toque repetidamente hasta que
vea y . Toque
repetidamente hasta que vea .
se convierte en parpadeante
y luego en fijo , lo que indica que
se han restaurado los ajustes de
fábrica.
3. Mantenga pulsado el botón ECO
durante 3 segundos
aproximadamente para salir del
modo de ajuste.
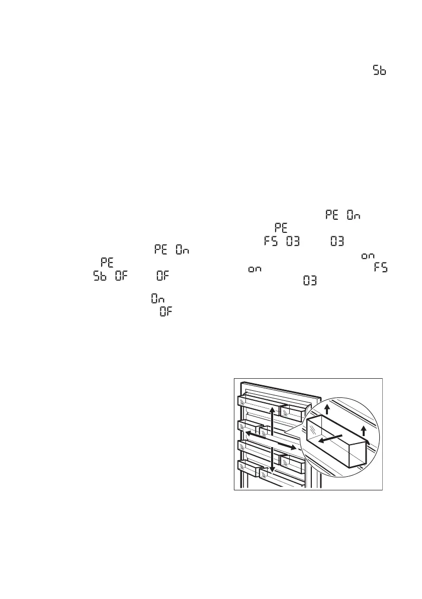
5. USO DIARIO
5.1 Colocación de los estantes
de la puerta
La puerta de este aparato está equipada
con guías para disponer los estantes/las
bandejas de la puerta según prefiera.
Para recolocar los estantes/las bandejas
de la puerta:
1. Levante gradualmente el estante/la
bandeja en la dirección de las
flechas hasta que se desenganche.
2. Coloque el estante/la bandeja en la
posición que desee, introduciendo
suavemente en la guía.
1
1
2
5.2 Estantes móviles
Las paredes del frigorífico cuentan con
una serie de guías para colocar los
estantes del modo que se prefiera.
www.electrolux.com136