EasyManua.ls Logo

Electrolux ERB34258W - Environmental Concerns

Electrolux ERB34258W
16 pages
Print Icon
To Next Page IconTo Next Page
To Next Page IconTo Next Page
To Previous Page IconTo Previous Page
To Previous Page IconTo Previous Page
Loading...
7. Install the upper door and screw the up-
per hinge.
8. Install the lower door and screw the low-
er hinge by changing the position of the
pin.
9. Tighten the pin. Make sure that the doors
are aligned and blocked by the lock-nut.
10. Raise the appliance and install the ven-
tilation grille.
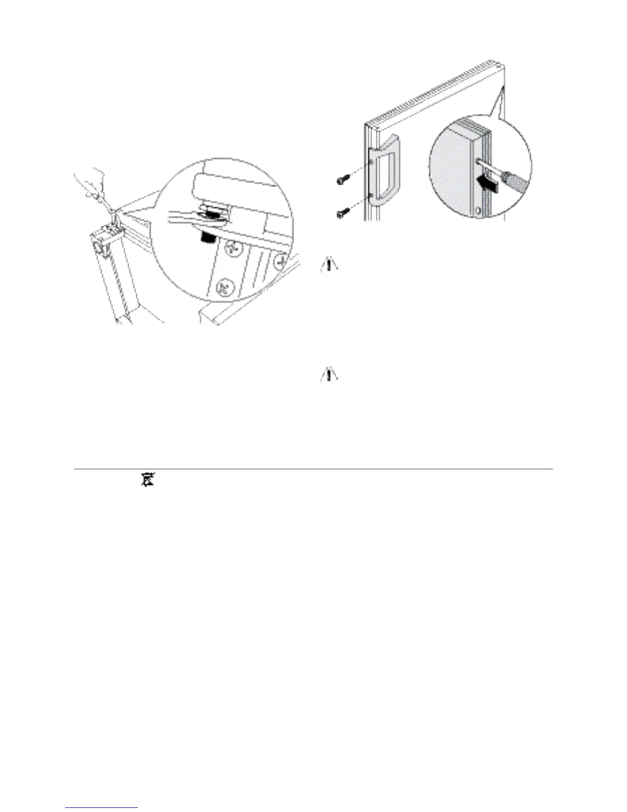
11. Unscrew the handle. On the opposite
side remove the hole covers by driving a
3-4 mm drift or drill into them. Install the
handle.
Install the hole covers provided within the
accessory bag.
12. Put the cabinet in position.
Warning! Reposition, level the
appliance, wait for at least four hours
and then connect it to the power socket.
Do a final check to make sure that:
All screws are tightened.
The magnetic seal adheres to the cabinet.
The door opens and closes correctly.
Warning! If the ambient temperature is
cold (i.e. in Winter), the gasket may not
fit perfectly to the cabinet. In that case,
wait for the natural fitting of the gasket.
ENVIRONMENTAL CONCERNS
The symbol on the product or on its
packaging indicates that this product may
not be treated as household waste. Instead
it should be taken to the appropriate
collection point for the recycling of electrical
and electronic equipment. By ensuring this
product is disposed of correctly, you will help
prevent potential negative consequences for
the environment and human health, which
could otherwise be caused by inappropriate
waste handling of this product. For more
detailed information about recycling of this
product, please contact your local council,
your household waste disposal service or the
shop where you purchased the product.
electrolux 15

Related product manuals