EasyManua.ls Logo

Electrolux ERC3215AOW - Operation

Electrolux ERC3215AOW
Print Icon
To Next Page IconTo Next Page
To Next Page IconTo Next Page
To Previous Page IconTo Previous Page
To Previous Page IconTo Previous Page
Loading...
Be careful not to cause damage to the
refrigerant circuit. It contains
isobutane (R600a), a natural gas with
a high level of environmental
compatibility. This gas is flammable.
If damage occurs to the refrigerant
circuit, make sure that there are no
flames and sources of ignition in the
room. Ventilate the room.
Do not let hot items to touch the
plastic parts of the appliance.
Do not store flammable gas and liquid
in the appliance.
Do not put flammable products or
items that are wet with flammable
products in, near or on the appliance.
Do not touch the compressor or the
condenser. They are hot.
2.4 Internal light
The type of lamp used for this
appliance is not suitable for
household room illumination
2.5 Care and cleaning
WARNING!
Risk of injury or damage to
the appliance.
Before maintenance, deactivate the
appliance and disconnect the mains
plug from the mains socket.
This appliance contains hydrocarbons
in the cooling unit. Only a qualified
person must do the maintenance and
the recharging of the unit.
Regularly examine the drain of the
appliance and if necessary, clean it. If
the drain is blocked, defrosted water
collects in the bottom of the
appliance.
2.6 Disposal
WARNING!
Risk of injury or suffocation.
Disconnect the appliance from the
mains supply.
Cut off the mains cable and discard it.
Remove the door to prevent children
and pets to be closed inside of the
appliance.
The refrigerant circuit and the
insulation materials of this appliance
are ozone-friendly.
The insulation foam contains
flammable gas. Contact your
municipal authority for information on
how to discard the appliance
correctly.
Do not cause damage to the part of
the cooling unit that is near the heat
exchanger.
3. OPERATION
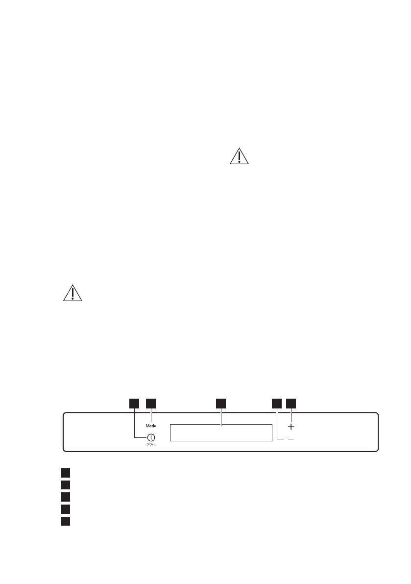
3.1 Control panel
1 2 3 4 5
1
ON/OFF
2
Mode
3
Display
4
Temperature colder button
5
Temperature warmer button
It is possible to change predefined sound
of buttons to a loud one by pressing
together Mode and temperature colder
buttons for a few seconds. Change is
reversible.
www.electrolux.com20

Related product manuals