EasyManua.ls Logo

Electrolux ERG1402AOW - Bediening; Het Eerste Gebruik

Electrolux ERG1402AOW
Print Icon
To Next Page IconTo Next Page
To Next Page IconTo Next Page
To Previous Page IconTo Previous Page
To Previous Page IconTo Previous Page
Loading...
3. BEDIENING
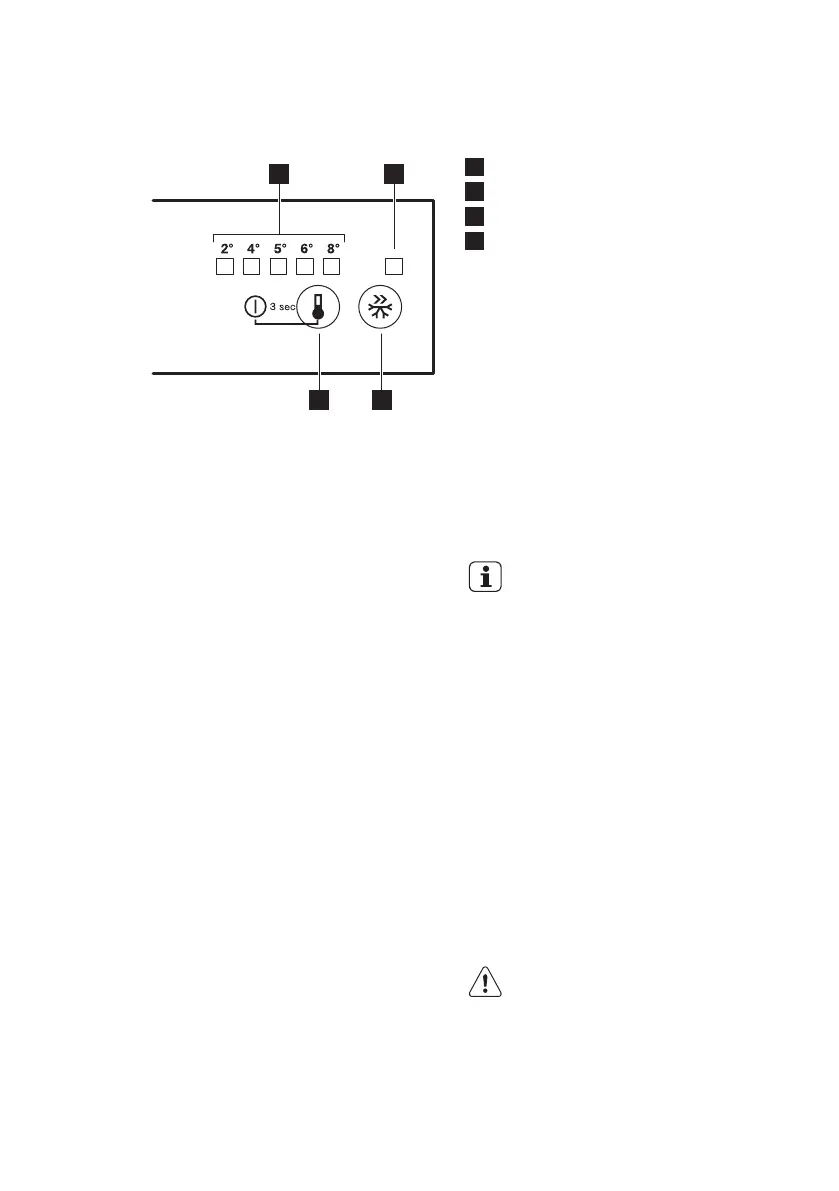
3.1 Bedieningspaneel
1 2
4 3
1
Temperatuurindicatie LED
2
Intensive Cooling-indicatielampje
3
Intensive Cooling-toets
4
Temperatuurknop
AAN-/UITtoets
3.2 Inschakelen
1. Steek dan de stekker in het
stopcontact.
2. Raak de toets van de
temperatuurregelaar aan als alle
LED's uit zijn.
3.3 Uitschakelen
Blijf de toets van de temperatuurregelaar
3 seconden aanraken.
Alle indicatielampjes zijn uit.
3.4 Temperatuurregelaar
Houd om het apparaat te bedienen de
thermostaatknop ingedrukt tot de LED
van de gewenste temperatuur brandt. De
selectie loopt van 2°C tot 8°C.
Áls de knop één keer wordt aangeraakt,
blijft de huidige instelling LED knipperen.
Elke keer dat de knop wordt aangeraakt,
verplaatst de ingestelde temperatuur 1
positie. De bijbehorende LED knippert
even.
Druk de instelknop in tot de vereiste
temperatuur is geselecteerd. De
instelling wordt vastgezet
Koudste instelling: +2°C.
Warmste instelling: +8°C.
Een gemiddelde instelling is
over het algemeen het
meest geschikt.
De exacte instelling moet echter worden
gekozen rekening houdend met het feit
dat de temperatuur in het apparaat
afhankelijk is van:
de kamertemperatuur
hoe vaak de deur wordt geopend
de hoeveelheid etenswaren die
wordt bewaard
de plek van het apparaat.
4. HET EERSTE GEBRUIK
4.1 De binnenkant
schoonmaken
Voordat u het apparaat voor de eerste
keer gebruikt, wast u de binnenkant en
de interne accessoires met lauwwarm
water en een beetje neutrale zeep om de
typische geur van een nieuw product
weg te nemen. Droog daarna grondig af.
LET OP!
Gebruik geen oplosmiddelen
of schuurmiddelen. Deze
beschadigen de lak.
www.electrolux.com6

Related product manuals